Skip to content

TCVN 10333-3:2014 Hố ga bê tông cốt thép thành mỏng đúc sẵn – Phần 3: Nắp và song chắc rác

TIÊU CHUẨN QUỐC GIA

TCVN 10333-3:2014

HỐ GA THOÁT NƯỚC BÊ TÔNG CỐT THÉP THÀNH MỎNG ĐÚC SẴN – PHẦN 3: NẮP VÀ SONG CHẮC RÁC

Precast thin wall reinforced concrete manholes – Part 3: Manhole covers and gratings

Lời nói đầu

TCVN 10333-3:2016 do Hội Bê tông Việt Nam biên soạn, Bộ Xây dựng đề nghị, Tổng cục Tiêu chuẩn Đo lường Chất lượng thẩm định, Bộ Khoa học và Công nghệ công bố.

Bộ tiêu chuẩn “Hố ga thoát nước bê tông cốt thép thành mỏng đúc sẵn” gồm ba phần:

– TCVN 10333-1:2014 – Phần 1: Hố thu nước mưa và hố ngăn mùi;

– TCVN 10333-2:2014 – Phần 2: Giếng thăm hình hộp;

– TCVN 10333-3:2016 – Phần 3: Nắp và song chắn rác.

Lời giới thiệu

TCVN 10333-3:2016 qui định các yêu cầu kĩ thuật và phương pháp thử đối với sản phẩm “Nắp hố ga và song chắn rác” dùng trong các công trình thoát nước.

Tiêu chuẩn này được xây dựng trên cơ sở chấp nhận giải pháp công nghệ phù hợp cho “Dây chuyền công nghệ chế tạo các sản phẩm bê tông cốt thép thành mỏng đúc sẵn dùng trong hệ thống hạ tầng kỹ thuật và bảo vệ môi trường” của Công ty TNHH một thành viên Thoát nước và Phát triển đô thị tỉnh Bà Rịa – Vũng Tàu (BUSADCO) được Bộ Xây dựng ra quyết định công nhận và cho phép áp dụng rộng rãi trên toàn quốc (theo Quyết định số 885/QĐ-BXD ngày 30/09/2011) và được Cục Sở hữu trí tuệ cấp Bằng độc quyền Giải pháp hữu ích số 827 cho Công nghệ chế tạo các sản phẩm bê tông cốt thép thành mỏng đúc sẵn dùng trong kết cấu hạ tầng kỹ thuật và bảo vệ môi trường theo Quyết định số 4276/QĐ-SHTT ngày 12/3/2010.

HỐ GA THOÁT NƯỚC BÊ TÔNG CỐT THÉP THÀNH MỎNG ĐÚC SẴN – PHẦN 3: NẮP VÀ SONG CHẮC RÁC

Precast thin wall reinforced concrete manholes – Part 3: Manhole covers and gratings

1 Phạm vi áp dụng

Tiêu chuẩn này áp dụng cho sản phẩm nắp hố ga và song chắn rác dùng trong xây dựng các công trình thoát nước.

2 Tài liệu viện dẫn

Các tài liệu viện dẫn sau là cần thiết cho việc áp dụng tiêu chuẩn này. Đối với các tài liệu viện dẫn ghi năm công bố thì áp dụng bản được nêu. Đối với các tài liệu viện dẫn không ghi năm công bố thì áp dụng phiên bản mới nhất, bao gồm các bản sửa đổi, bổ sung (nếu có).

TCVN 1651-1:2008, Thép cốt bê tông – Phần 1: Thép thanh tròn trơn.

TCVN 1651-2:2008, Thép cốt bê tông – Phần 2: Thép thanh vằn.

TCVN 1651-3:2008, Thép cốt bê tông – Phần 3: Lưới thép hàn.

TCVN 2361:1989, Gang đúc – Yêu cầu kỹ thuật.

TCVN 3105:1993, Hỗn hợp bê tông nặng và bê tông nặng – Lấy mẫu, chế tạo và bảo dưỡng mẫu thử.

TCVN 3114:1993, Bê tông nặng – Phương pháp xác định độ mài mòn.

TCVN 3118:1993, Bê tông nặng – Phương pháp xác định cường độ nén.

TCVN 5709:2009, Thép các bon cán nóng dùng làm kết cấu xây dựng – Yêu cầu kỹ thuật.

TCVN 6288:1997, Dây thép vuốt nguội để làm cốt bê tông và sản xuất lưới thép làm cốt.

TCVN 9490:2012 (ASTM C900-06), Bê tông nặng – Xác định cường độ kéo nhổ.

TCVN 10333-1:2014, Hố ga bê tông cốt thép thành mỏng đúc sẵn – Phần 1: Hố thu nước mưa và hố ngăn mùi.

TCVN 10333-2:2014, Hố ga bê tông cốt thép thành mỏng đúc sẵn – Phần 2: Giếng thăm hình hộp.

ASTM D 695, Test method for compressive properties of rigid plastics (Phương pháp xác định cường độ chịu nén của nhựa cứng).

ASTM D 790, Test method for flexural properties of unreinforced and reinforced plastics and electrical insulating materials (Phương pháp xác định cường độ chịu uốn của nhựa có cốt hoặc không có cốt và vật liệu cách điện).

3 Thuật ngữ và định nghĩa

Trong tiêu chuẩn này, sử dụng các thuật ngữ và định nghĩa sau:

3.1 Nắp hố ga (Manhole covers)

Bộ phận che đậy miệng giếng thăm và hố ngăn mùi.

3.2 Song chắn rác (Gratings)

Bộ phận lắp đặt trên miệng hố thu nước mưa để chặn không cho rác trôi theo nước mưa vào hố.

3.3 Khung đỡ (Frame)

Bộ phận dùng để đỡ nắp hố ga hoặc song chắn rác.

3.4 Lỗ thông hơi (Vent)

Lỗ hở trên nắp giếng thăm để tạo sự thông hơi.

3.5 Nắp kín (Sealed cover)

Nắp không có lỗ thông hơi.

CHÚ THÍCH: Một số dạng nắp kín xem Phụ lục A.

3.6 Hoa văn chống trượt (Raised pattern)

Các họa tiết đúc nổi trên bề mặt nắp và khung để chống trượt.

3.7 Góc mở (Opening angle)

Góc hình thành giữa mặt dưới của nắp hoặc song chắn rác so với mặt đường khi mở.

3.8 Composite nhựa nhiệt rắn cốt sợi thủy tinh (Glass-reinforced thermosetting plastics – GRP)

Vật liệu bao gồm sợi thủy tinh được bao bọc bởi nhựa nhiệt rắn. Kết cấu composite có thể bao gồm cốt liệu, các chất độn, chất màu, chất phụ gia.

3.9 Lô sản phẩm (Product lot)

Số lượng nắp hố ga hoặc song chắn rác được sản xuất theo cùng một thiết kế và qui trình công nghệ, được quy định khi lấy mẫu thử đối với các chỉ tiêu kỹ thuật khác nhau.

4 Phân loại và ký hiệu

4.1 Phân loại

4.1.1 Theo khả năng chịu tải

Theo khả năng chịu tải, sản phẩm được phân thành 6 loại:

– A 15: lắp đặt ở những nơi dành riêng cho người đi bộ, đi xe đạp;

– B 125: lắp đặt trên vỉa hè, phần dành cho người đi bộ, xe đạp, xe máy, xe con và bãi đỗ xe con;

– C 250: lắp đặt ở lề đường cách mép ngoài bó vỉa tối đa 0,5 m về phía lòng đường và 0,2 m về phía hè đường;

– D 400: lắp đặt trên lòng đường, bãi đỗ xe cho mọi loại phương tiện;

– E 600: lắp đặt ở những nơi có xe tải trọng lớn như quốc lộ lớn, bến cảng, sân bay;

– F 900: lắp đặt ở những nơi có phương tiện vận tải siêu trọng như đường băng sân bay.

Trong đó A, , …, F là số thứ tự; số 15, …, 900 là số đo khả năng chịu tải tính theo kN.

4.1.2 Theo vật liệu chế tạo

– Gang;

– Thép;

– Bê tông cốt thép;

– Composite nhựa nhiệt nắn cốt sợi thủy tinh.

4.2 Ký hiệu

4.2.1 Ký hiệu các kích thước cơ bản

Các loại kích thước cơ bản của nắp hố ga và song chắn rác được thể hiện ở Hình 1, Hình 2, Hình 3 và Hình 4.

CHÚ DẪN:

A – chiều dài;

H – chiều cao;

D1 – đường kính vành đỡ;

D1 – đường kính gân chặn;

D – đường kính cổ giếng;

H2 – chiều cao vành đỡ.

B – chiều rộng;

H1 – chiều cao vành chặn;

Hình 1 – Khung đỡ nắp hố ga

CHÚ DẪN:

D – đường kính ngoài;

D1 – đường kính trong;

H – chiều cao;

H1 – chiều cao gối đỡ.

Hình 2 – Nắp hố ga

CHÚ DẪN:

A – chiều rộng;

B – chiều dài;

H – chiều cao;

H1 – chiều cao vành đỡ.

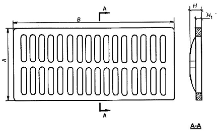
Hình 3 – Khung đỡ song chắn rác

CHÚ DẪN:

A – chiều rộng;

B – chiều dài;

H – chiều cao;

H1 – chiều cao gối đỡ.

Hình 4 – Song chắn rác

4.2.2 Ký hiệu sản phẩm

Ký hiệu qui ước cho sản phẩm nắp hố ga và song chắn rác được ghi theo thứ tự sau:

– Tên sản phẩm: N là nắp hố ga và S là song chắn rác;

– Loại sản phẩm theo khả năng chịu tải;

– Số hiệu tiêu chuẩn: TCVN 10333-3:2016.

Ví dụ:

– N.E600.TCVN 10333-3:2016 là nắp hố ga, cấp chịu tải E600, sản xuất theo TCVN 10333-3:2016.

– S.B125.TCVN 10333-3:2016 là song chắn rác, cấp chịu tải B125 sản xuất theo TCVN 10333-3:2016.

5 Yêu cầu kỹ thuật

5.1 Yêu cầu về vật liệu

5.1.1 Gang

Gang dùng để chế tạo sản phẩm phù hợp với TCVN 2361:1989.

5.1.2 Thép

Thép các bon cán nóng dùng để chế tạo sản phẩm phù hợp với TCVN 5709:2009.

5.1.3 Bê tông cốt thép

5.1.3.1 Bê tông

Bê tông phải đảm bảo cường độ chịu nén theo thiết kế nhưng không được nhỏ hơn 25 MPa đối với loại A15 và không nhỏ hơn 45 MPa đối với các loại còn lại.

5.1.3.2 Cốt thép

Cốt thép dùng để chế tạo sản phẩm phải phù hợp với TCVN 1651-1:2008, TCVN 1651-2:2008, TCVN 1651-3:2008 và TCVN 6288:1997.

5.1.4 Composite nhựa nhiệt rắn cốt sợi thủy tinh (GRP)

Composite nhựa nhiệt rắn cốt sợi thủy tinh dùng để chế tạo sản phẩm phải đảm bảo cường độ chịu nén và chịu uốn theo thiết kế, nhưng cường độ nén không nhỏ hơn 180 MPa và cường độ uốn không nhỏ hơn 120 MPa.

5.2 Yêu cầu về kích thước

5.2.1 Nắp hố ga

5.2.1.1 Khung và nắp

– Khung đỡ phải phù hợp với kích thước của cổ giếng hoặc miệng hố ngăn mùi bao gồm kích thước trong cộng với chiều dày thành cổ giếng theo TCVN 10333-2:2014 hoặc miệng hố ngăn mùi theo TCVN 10333-1:2014.

– Đường kính của nắp hình tròn hoặc cạnh của nắp hình vuông phải phù hợp với chiều rộng bên trong của cổ giếng theo TCVN 10333-2:2014 hoặc miệng hố ngăn mùi theo TCVN 10333-1:2014.

– Một số kích thước cơ bản thông dụng của nắp hố ga được trình bày trong Bảng 1.

Bảng 1 – Một số kích thước cơ bản thông dụng của nắp hố ga*

Đơn vị tính bằng milimet

Cấp chịu tải

Khung đỡ

Nắp

D

Sai lệch cho phép

D1

Sai lệch cho phép

D2

Sai lệch cho phép

H

Sai lệch cho phép

H1

Sai lệch cho phép

H2

Sai lệch cho phép

D

Sai lệch cho phép

D1

Sai lệch cho phép

H

Sai lệch cho phép

H1

Sai lệch cho phép

A15

600

+ 3

650

-3

705

+ 3

50

– 2

+ 4

20

± 2

20

+ 2

643

+ 3

580

– 2

45

+ 4

20

+ 2

A15

730

800

855

50

20

20

793

730

45

20

B125

600

650

705

70

30

30

643

580

65

30

B125

730

800

855

70

30

30

793

730

65

30

C250

600

650

705

70

30

35

643

580

75

35

D400

600

650

705

80

30

45

643

580

75

45

CHÚ THÍCH: * Áp dụng cho nắp hố ga bằng gang, thép và composite, các loại nắp làm bằng vật liệu khác theo yêu cầu thiết kế riêng

Các kích thước khác được sản xuất theo yêu cầu của thiết kế hoặc khách hàng.

5.2.1.2 Lỗ hoặc rãnh thông hơi của nắp

– Chiều dài rãnh: không lớn hơn 170 mm;

– Chiều rộng rãnh:

+ Từ 18 mm đến 25 mm đối với loại A15 và B125;

+ Từ 18 mm đến 32 mm đối với các loại còn lại.

– Đường kính lỗ tròn:

+ Từ 18 mm đến 38 mm đối với loại A15 và B125;

+ Từ 30 mm đến 38 mm đối với các loại còn lại.

– Tổng diện tích của rãnh hoặc lỗ thông hơi không nhỏ hơn 140 cm2.

5.2.1.3 Hoa văn nổi chống trượt của nắp

– Chiều cao của hoa văn nổi chống trượt:

+ Từ 2 mm đến 6 mm đối với loại A 15, B 125 và C 250;

+ Từ 3 mm đến 8 mm đối với loại D 400, E 600 và F 900.

– Tổng diện tích của hoa văn nổi chống trượt từ 10 % đến 70 % diện tích bề mặt của nắp,

5.2.2 Song chắn rác

5.2.2.1 Khung và song

– Chiều dài và chiều rộng khung đỡ song chắn rác phải phù hợp với kích thước của miệng hố thu nước mưa bao gồm kích thước trong cộng với chiều dày thành theo TCVN 10333-1:2014.

– Một số kích thước cơ bản thông dụng của song chắn rác được trình bày trong Bảng 2.

Bảng 2 – Một số kích thước cơ bản thông dụng của song chắn rác*

Đơn vị tính bằng milimet

Chiều rộng rãnh

Cấp chịu tải

Song chắn rác

A

Sai lệch cho phép

B

Sai lệch cho phép

H

Sai lệch cho phép

H1

Sai lệch cho phép

250

A15

300

+ 3

500

800

+ 3

38

+ 2

20

+ 4

B125

50

30

350

A15

400

630

800

1000

40

25

A15

50

30

B125

65

35

380

A15

430

630

850

1000

40

25

B125

55

30

C250

65

35

450

A15

500

700

800

1000

45

25

B125

55

30

C250

65

35

450

A15

700

700

45

25

B125

800

55

30

C250

1000

65

45

Khung đỡ

A

Sai lệch cho phép

B

Sai lệch cho phép

H

Sai lệch cho phép

H1

Sai lệch cho phép

400

+3

600

900

+3

40

+2

20

+4

60

30

500

730

900

1100

45

25

60

30

65

35

530

730

950

1100

50

25

60

30

65

35

600

800

900

1100

50

25

60

30

65

35

800

800

900

1100

50

25

60

30

80

45

CHÚ THÍCH: * Áp dụng cho song chắn rác bằng gang, thép và composite, các loại song chắn rác làm bằng vật liệu khác theo yêu cầu thiết kế riêng;

Các kích thước khác được sản xuất theo yêu cầu của thiết kế hoặc khách hàng.

5.2.2.2 Lỗ thu nước của song chắn rác

– Lỗ thu nước của song chắn rác có thể hình tròn, hình vuông hoặc hình chữ nhật với đường kính hoặc chiều rộng từ 20 mm đến 30 mm. Chiều dài tùy thuộc vào chiều rộng của song chắn rác.

– Tổng diện tích lỗ thu nước không nhỏ hơn 60 % diện tích bề mặt song chắn rác.

5.2.3 Các kích thước khác

5.2.3.1 Góc mở

Góc mở không nhỏ hơn 100°.

5.2.3.2 Khe hở

Khe hở giữa nắp hoặc song chắn rác với khung đỡ không lớn hơn 6 mm.

5.3 Yêu cầu về ngoại quan

5.3.1 Độ phẳng bề mặt

Bề mặt tiếp xúc giữa khung đỡ và nắp hố ga hoặc song chắn rác phải phẳng đều, không được có các điểm lồi lên hoặc lõm xuống quá 2 mm.

5.3.2 Nứt bề mặt

Đối với nắp hoặc song chắn rác bê tông cốt thép, cho phép có các vết nứt bề mặt với chiều rộng không lớn hơn 0,1 mm. Các vết nứt này có thể được sửa chữa bằng cách xoa hồ xi măng.

5.4 Yêu cầu về độ mài mòn

Đối với nắp hoặc song chắn rác bê tông, độ mài mòn không được lớn hơn 0,6 g/cm2.

5.5 Yêu cầu về khả năng chịu tải

Khả năng chịu tải của nắp hố ga và song chắn rác được qui định tại Bảng 3.

Bảng 3 – Khả năng chịu tải đứng của nắp và song chắn rác

Loại nắp và song chắn rác

Lực nén giới hạn, kN

Chỉ tiêu đánh giá đối với loại sản phẩm chế tạo từ vật liệu

gang, thép và composite nhựa nhiệt rắn cốt sợi thủy tinh

bê tông

A 15

15

– Biến dạng dư cho phép khi gia tải đến giá trị 3/4 lực nén giới hạn, mm, không lớn hơn 1/500 so với đường kính hoặc chiều rộng;

– Khi thử tải tiếp đến lực nén giới hạn và duy trì (30 ± 2) s, nắp hoặc song chắn rác không bị nứt.

Độ rộng vết nứt ở mặt dưới khi gia tải đến lực nén giới hạn không lớn hơn 0,2 mm

B 125

125

C 250

250

D 400

400

E 600

600

F 900

900

6 Phương pháp thử

6.1 Lấy mẫu

– Mẫu thử được lấy theo lô. Cỡ lô không lớn hơn 150 sản phẩm nắp hoặc song chắn rác. Nếu không đủ 150 sản phẩm cũng tính là một lô đủ. Việc lấy mẫu có thể tiến hành trong quá trình hình thành lô cho đến khi đủ số lượng cỡ lô hoặc có thể tiến hành sau khi đã phân số lượng đủ một lô mới. Việc lấy mẫu phải tiến hành sao cho mẫu thử là đại diện cho toàn lô sản phẩm bao gồm các nắp hoặc song chắn rác được phân bố đều khắp trong lô.

– Lấy ngẫu nhiên không ít hơn 15 sản phẩm nắp hoặc song chắn rác đại diện cho lô để kiểm tra các chỉ tiêu kỹ thuật về kích thước, ngoại quan, khuyết tật.

– Lấy ngẫu nhiên không ít hơn 3 sản phẩm đạt các chỉ tiêu kỹ thuật về kích thước, ngoại quan, khuyết tật để kiểm tra khả năng chịu tải.

– Độ mài mòn của nắp hoặc song chắn rác bê tông thì kiểm tra định kỳ 3 tháng một lần. Từ các lô sản phẩm đã sản xuất trong kỳ hạn 3 tháng sẽ lấy ngẫu nhiên 5 sản phẩm của một lô bất kỳ đạt yêu cầu về ngoại quan, kích thước, cường độ nén và khả năng chịu tải để thử.

6.2 Xác định cường độ chịu nén của bê tông

Bê tông chế tạo sản phẩm nắp hố ga hoặc song chắn rác phải được lấy mẫu và bảo dưỡng mẫu theo TCVN 3105:1993, xác định cường độ nén theo TCVN 3118:1993. Kết quả thử nghiệm được đưa vào hồ sơ nghiệm thu sản phẩm. Khi cần thiết có thể kiểm tra cường độ nén của bê tông trực tiếp trên sản phẩm theo TCVN 9490:2012 (ASTM C900-06).

6.3 Xác định cường độ composite nhựa nhiệt rắn cốt sợi thủy tinh

Composite nhựa nhiệt rắn cốt sợi thủy tinh chế tạo nắp hố ga hoặc song chắn rác phải được lấy mẫu thử cường độ nén theo ASTM D695 và cường độ uốn theo ASTM D790.

6.4 Xác định kích thước

6.4.1 Thiết bị, dụng cụ

6.4.1.1 Thước kẹp có độ chính xác 0,1 mm;

6.4.1.2 Thước cuộn kim loại dài 2 m, vạch chia đến 1 mm;

6.4.1.3 Thước đo góc, độ chính xác 0,50.

6.4.2 Cách tiến hành

– Đo chiều dài, chiều rộng, đường kính bằng thước nhựa hoặc thước cuộn.

– Đo chiều dày bằng thước kẹp.

– Đo góc mở bằng thước đo góc.

– Diện tích lỗ thông hơi và lỗ thoát nước được tính toán từ các số đo.

6.4.3 Đánh giá kết quả

Đối chiếu với các thông số qui định tại 5.2 để đánh giá kết quả xác định kích thước các loại. Nếu trong 15 sản phẩm lấy ra kiểm tra có từ 2 sản phẩm trở lên không đạt chất lượng thì lấy 15 sản phẩm khác trong lô đó để kiểm tra lần hai. Nếu lại có từ 2 sản phẩm trở lên không đạt yêu cầu chất lượng thì lô sản phẩm đó phải phân loại lại.

6.5 Xác định khuyết tật ngoại quan

6.5.1 Thiết bị, dụng cụ

6.5.1.1 Thước kim loại hoặc thước nhựa dài 300 mm, vạch chia đến 1 mm;

6.5.1.2 Bộ thước căn lá thép dày từ 0,05 mm đến 0,1 mm;

6.5.1.3 Kính đo độ rộng vết nứt có độ phóng đại từ 5 lần đến 10 tần.

6.5.2 Cách tiến hành

– Đo các điểm lồi, lõm trên bề mặt tiếp xúc giữa khung với nắp hoặc song chắn rác bằng thước nhựa hoặc kim loại.

– Đo vết nứt bê tông: Quan sát phát hiện vết nứt bằng mắt thường hoặc bằng kính lúp. Nếu có vết nứt, thì cắm đầu thước căn lá thép vào vết nứt để xác định chiều rộng.

6.5.3 Đánh giá kết quả

Đối chiếu với yêu cầu về ngoại quan và khuyết tật được qui định tại 5.3 để đánh giá chất lượng bề mặt tiếp xúc giữa khung với nắp hoặc song chắn rác và bề mặt nắp bê tông.

Nếu trong 15 sản phẩm lấy ra kiểm tra có từ 2 sản phẩm trở lên không đạt chất lượng thì trong lô đó lại chọn ra 15 sản phẩm khác để kiểm tra tiếp. Nếu lại có từ 2 sản phẩm trở lên không đạt yêu cầu chất lượng thì lô sản phẩm đó phải phân loại lại.

6.6 Xác định độ mài mòn của bê tông

Độ mài mòn của bê tông chế tạo nắp hố ga hoặc song chắn rác được xác định theo TCVN 3114:1993.

6.7 Xác định khả năng chịu tải

6.7.1 Sơ đồ thử tải

Sơ đồ thử tải được thể hiện ở Hình 5.

6.7.2 Thiết bị, dụng cụ

6.7.2.1 Máy nén

Máy ép thủy lực, có khả năng đạt lực ép tối thiểu lớn hơn 25 % lực nén giới hạn tương ứng đối với các loại từ A15 tới D400 và tối thiểu lớn hơn 10 % lực nén giới hạn tương ứng đối với các loại từ E600 tới F900.

Mức sai số cho phép của tải trọng thử là ± 3 %.

Ngoại trừ các sản phẩm phức tạp, kích thước của bệ máy ép phải lớn hơn bề mặt chịu tải của sản phẩm thử.

CHÚ DẪN:

1. Đệm thép;

5. Bơm dầu;

9. Đầu ép.

2. Đệm cao su;

6. Đồng hồ đo lực;

3. Gối đỡ;

7. Ống dẫn;

4. Mẫu thử;

8. Đầu đo biến dạng;

Hình 5 – Sơ đồ thử tải

6.7.2.2 Đầu đo biến dạng

Đầu đo biến dạng điện trở hoặc dây rung.

6.7.2.3 Thước căn lá thép

Thước căn lá thép dày từ 0,05 mm đến 0,2 mm.

6.7.2.4 Phụ kiện

6.7.2.4.1 Miếng đệm thép: có đường kính 356 mm, độ dày không nhỏ hơn 40 mm, bề mặt trên và dưới phải phẳng (Hình 6).

Kích thước tính bằng milimet

Hình 6 – Miếng đệm thép

6.7.2.4.2 Miếng đệm cao su: có đường kính 356 mm, độ dày không nhỏ hơn 10 mm có độ cứng không nhỏ hơn 80 shore, bề mặt phẳng nhẵn (Hình 7).

Kích thước tính bằng milimet

Hình 7 – Miếng đệm cao su

6.7.3 Cách tiến hành

6.7.3.1 Đối với nắp và song chắn rác bằng gang, thép và composite nhựa nhiệt rắn cốt sợi thủy tinh

6.7.3.1.1 Thử khi áp đặt 3/4 lực nén giới hạn

– Trước khi gia tải, đọc chỉ số biến dạng lần đầu.

– Gia tải với tốc độ 1 kN/s đến 5 kN/s tới 3/4 giá trị lực nén giới hạn (nêu trong Bảng 3); sau đó xả tải. Trình tự này được thực hiện 5 lần. Sau đó đọc chỉ số biến dạng ở lần thử cuối.

– Độ biến dạng dư là hiệu của các chỉ số đọc trước khi gia tải lần thứ nhất và sau khi gia tải lần thứ 5.

6.7.3.1.2 Thử ở lực nén giới hạn

Tiếp tục gia tải với tốc độ tương tự như qui định tại 6.7.3.1.1 (đối với những nắp hoặc song chắn rác đạt yêu cầu về độ biến dạng dư được qui định tại Bảng 3) cho tới khi đạt giá trị lực nén giới hạn qui định tại Bảng 3 và duy trì trong (30 + 2) s.

6.7.3.2 Đối với nắp và song chắn rác bằng bê tông

– Tác dụng lực lên điểm giữa của miếng đệm thép, tăng tải đến 10 % giá trị lực nén giới hạn;

– Kiểm tra độ ổn định, đảm bảo sự tiếp xúc tốt của toàn bộ hệ thống.

– Tiếp tục tăng tải với tốc độ gia tải 200 kN/min cho tới khi đạt 3/4 giá trị lực nén giới hạn qui định tại Bảng 3, sau đó tăng tải chậm lại với tốc độ 44 kN/min. Khi đạt lực nén giới hạn thì giữ tải trọng đó trong 5 min và quan sát. Nếu có vết nứt thì đo chiều rộng vết nứt bằng thước căn lá.

6.7.4 Đánh giá kết quả

Đối chiếu với yêu cầu về khả năng chịu tải qui định tại 5.5 để đánh giá khả năng chịu tải của nắp hố ga hoặc song chắn rác. Nếu trong 3 sản phẩm lấy ra kiểm tra có từ 1 sản phẩm trở lên không đạt chất lượng thì trong lô đó lại chọn ra 3 sản phẩm khác để kiểm tra tiếp. Nếu lại có từ 1 sản phẩm trở lên không đạt yêu cầu chất lượng thì lô sản phẩm đó phải kiểm tra trên từng sản phẩm.

7 Ghi nhãn, vận chuyển và bảo quản

7.1 Ghi nhãn

a) Nhãn được dán hoặc in trực tiếp lên bề mặt nắp hoặc song chắn rác, tại vị trí dễ quan sát nhất, phải ghi rõ:

– Tên, địa chỉ cơ sở sản xuất;

– Ký hiệu sản phẩm;

– Số hiệu lô sản phẩm;

– Ngày, tháng, năm sản xuất;

b) Vật liệu dùng ghi nhãn không bị hòa tan trong nước và phai màu.

c) Ngoài ra có thể kèm theo phiếu thử nghiệm chất lượng sản phẩm của mỗi lô hàng, trong đó thể hiện kết quả thử các chỉ tiêu chất lượng theo tiêu chuẩn này.

7.2 Bảo quản và vận chuyển

a) Nắp hố ga hoặc song chắn rác được xếp trên palet theo từng lô.

b) Đối với nắp hố ga hoặc song chắn rác bê tông, được phép bốc xếp, vận chuyển khi cường độ bê tông đạt 85 % cường độ thiết kế.

c) Nắp hố ga hoặc song chắn rác được bốc, xếp bằng thiết bị chuyên dụng.

d) Khi vận chuyển, nắp hố ga hoặc song chắn rác phải được liên kết với phương tiện vận chuyển để tránh xô đẩy, va đập gây hư hỏng.

PHỤ LỤC A

(tham khảo)

Một số dạng nắp hố ga kín

A.1 Nắp hai mảnh tam giác

CHÚ DẪN: 1: Nắp 2: Khung

Hình A.1 – Nắp kín hai mảnh tam giác bằng gang hoặc composite nhựa nhiệt rắn cốt sợi thủy tinh

A.2 Nắp vật liệu kết hợp

CHÚ DẪN: 1 – Vỏ gang; 2 – Bê tông; 3 – Khung đỡ.

Hình A.2 – Nắp kín bằng gang kết hợp bê tông

A.3 Nắp modul

CHÚ DẪN: 1 – Modul bê tông cốt thép; 2 – Khung đỡ

Hình A.3 – Nắp kín modul bằng bê tông cốt thép

A.4 Nắp tròn khung đỡ tròn (a) và nắp vuông khung đỡ vuông (b)

CHÚ DẪN: 1 – Nắp; 2 – Khung đỡ.

Hình A.4 – (a) Nắp tròn khung đỡ tròn; (b) Nắp vuông khung đỡ vuông

 

5/5 - (32 bình chọn)
Chia sẻ

Hotline: 0702.706.775

Email: info@isoq.vn

Back To Top