TCVN 10797:2015 Sản phẩm bó vỉa bê tông đúc sẵn
TIÊU CHUẨN QUỐC GIA
TCVN 10797:2015
SẢN PHẨM BÓ VỈA BÊ TÔNG ĐÚC SẴN
Products of precast concrete kerb
Lời nói đầu
TCVN 10797:2015 do Hội Bê tông Việt Nam biên soạn, Bộ Xây dựng đề nghị, Tổng cục Tiêu chuẩn Đo lường Chất lượng thẩm định, Bộ Khoa học và Công nghệ công bố.
Lời giới thiệu
TCVN 10797:2015 quy định các yêu cầu kỹ thuật và phương pháp thử kiểm tra chất lượng sản phẩm bó vỉa bê tông đúc sẵn dùng trong các công trình hạ tầng kỹ thuật giao thông đô thị.
Tiêu chuẩn này được biên soạn trên cơ sở chấp nhận Bằng độc quyền Giải pháp hữu ích số 1127 cho sản phẩm “Bó vỉa hè bê tông đúc sẵn” của Công ty TNHH một thành viên Thoát nước và Phát triển đô thị tỉnh Bà Rịa – Vũng Tàu theo Quyết định số 67725/QĐ-SHTT ngày 02/12/2013 của Cục Sở hữu trí tuệ.
SẢN PHẨM BÓ VỈA BÊ TÔNG ĐÚC SẴN
Products of precast concrete kerb
1. Phạm vi áp dụng
Tiêu chuẩn này áp dụng cho sản phẩm bó vỉa bê tông đúc sẵn dùng để bó hè đường, dải phân cách, đảo giao thông trên các tuyến đường giao thông và khu công nghiệp.
2. Tài liệu viện dẫn
Các tài liệu viện dẫn sau đây rất cần thiết khi áp dụng tiêu chuẩn này. Đối với các tài liệu viện dẫn ghi năm công bố thì áp dụng bản được nêu. Đối với các tài liệu viện dẫn không ghi năm công bố thì áp dụng phiên bản mới nhất, bao gồm các bản sửa đổi, bổ sung (nếu có).
TCVN 2682:2009, Xi măng poóc lăng – Yêu cầu kĩ thuật.
TCVN 3105:1993, Hỗn hợp bê tông nặng và bê tông nặng – Lấy mẫu, chế tạo và bảo dưỡng mẫu thử.
TCVN 3118:1993, Bê tông nặng – Phương pháp xác định cường độ nén.
TCVN 4506:2012, Nước cho bê tông và vữa – Yêu cầu kĩ thuật.
TCVN 6067:2004, Xi măng poóc lăng bền sun phát – Yêu cầu kĩ thuật.
TCVN 6260:2009, Xi măng poóc lăng hỗn hợp – Yêu cầu kĩ thuật.
TCVN 7570:2006, Cốt liệu cho bê tông và vữa – Yêu cầu kĩ thuật.
TCVN 7711:2013, Xi măng poóc lăng hỗn hợp bền sun phát – Yêu cầu kĩ thuật.
TCVN 8826:2011, Phụ gia hóa học cho bê tông.
TCVN 8827:2011, Phụ gia khoáng hoạt tính cao dùng cho bê tông và vữa – Silicafume và tro trấu nghiền mịn.
TCVN 9490:2012 (ASTM C900-06), Bê tông – Xác định cường độ kéo nhổ.
TCVN 10302:2014, Phụ gia hoạt tính tro bay dùng cho bê tông, vữa xây và xi măng.
3. Thuật ngữ, định nghĩa
Trong tiêu chuẩn này, sử dụng các thuật ngữ và định nghĩa sau:
3.1. Bó vỉa (Kerb)
Bộ phận cấu tạo dùng để ngăn cách, chuyển tiếp cao độ giữa một số bộ phận trên đường giao thông hoặc đường trong khu công nghiệp thường được bố trí ở mép hè đường, dải phân cách và đảo giao thông.
3.2. Chỉ giới bó vỉa (Kerb line)
Đường giao cắt giữa mặt ngoài bó vỉa và mép lề đường, đồng thời được dùng làm đường qui ước phân định giữa chiều cao đỉnh và chiều sâu chôn đất của mỗi loại sản phẩm bê tông bó vỉa.
3.3. Sản phẩm bó vỉa bê tông đúc sẵn (Products of precast concrete kerb)
Sản phẩm bê tông được đúc sẵn theo các hình dạng và kích thước nhất định để liên kết với nhau tạo thành bó vỉa.
3.4. Chiều cao đỉnh (Top height)
Khoảng cách từ đường chỉ giới tới đỉnh sản phẩm bó vỉa bê tông đúc sẵn.
3.5. Chiều sâu chôn đất (Bottom height)
Khoảng cách từ đường chỉ giới tới đáy sản phẩm bó vỉa bê tông đúc sẵn.
3.6. Mặt ngoài sản phẩm bó vỉa (Traffic face)
Bề mặt hướng ra lòng đường của sản phẩm bó vỉa bê tông đúc sẵn.
3.7. Đan rãnh (Channel)
Tấm đan bê tông lát ở lề đường kết hợp với bó vỉa tạo thành rãnh thoát nước, được đúc rời hoặc đúc liền với sản phẩm bó vỉa bê tông đúc sẵn.
3.8. Đảo giao thông (Traffic island)
Phần diện tích nổi cao ở giữa đường có thể có dạng hình tròn, hình vuông, hình e líp v.v…dùng để chỉ dẫn thông hành cho các phương tiện giao thông và làm điểm dừng chân cho khách bộ hành; trên đó có thể bố trí đèn, đài phun nước, tượng đài, trồng hoa tạo cảnh quan cho đường.
3.9. Lô sản phẩm (Product lot)
Số lượng sản phẩm bó vỉa được sản xuất theo cùng thiết kế kĩ thuật, cùng vật liệu, kích thước và cùng một qui trình công nghệ.
4. Phân loại, kích thước cơ bản và ký hiệu
4.1. Phân loại
4.1.1. Theo chức năng giao thông
Theo chức năng giao thông, sản phẩm bê tông bó vỉa được phân thành 7 loại (Hình 1).
Loại I: Có mặt ngoài gần như thẳng đứng và đủ cao để xe không thể vượt qua và ngăn không cho phương tiện đi chệch khỏi đường;
Loại IIa: Có mặt ngoài hơi vát để có thể cho xe vượt qua trong những trường hợp cần thiết, đan rãnh đúc rời;
Loại IIb: Mặt ngoài như loại IIa nhưng có đan rãnh đúc liền;
Loại IIIa: Có mặt ngoài vát để phương tiện leo qua dễ dàng, đan rãnh đúc rời; Loại IIIb: Mặt ngoài như loại IIIa nhưng có đan rãnh đúc liền;
Loại IVa: Có mặt ngoài gần như phẳng để người khuyết tật tiếp cận được, đan rãnh đúc rời; Loại IVb: Mặt ngoài như loại VI nhưng có đan rãnh đúc liền.
4.1.2. Theo hình dạng tạo hình
– Sản phẩm bó vỉa tiêu chuẩn dùng để thi công đường bó vỉa;
– Sản phẩm bó vỉa dị hình dùng để hoàn thiện đường bó vỉa (xem Phụ lục A).
4.1.3. Theo hình thức liên kết nối
Theo hình thức liên kết nối, sản phẩm bê tông bó vỉa được phân làm 3 loại:
4.1.3.1. Sản phẩm bó vỉa liên kết nối kiểu “tiếp xúc” (Hình 2a), ký hiệu NTX.
4.1.3.2. Sản phẩm bó vỉa liên kết nối kiểu “âm dương” (Hình 2b), ký hiệu NAD.
4.1.3.3. Sản phẩm bó vỉa liên kết nối kiểu “tự chèn” (Hình 2c), ký hiệu NTC.
4.2. Kích thước cơ bản
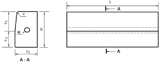
Các loại kích thước cơ bản của sản phẩm bê tông bó vỉa được thể hiện ở Hình 1.

Loại I

Loại IIa

Loại IIb

Loại IIIa

Loại IIIb
Loại IVa

Loại IVb
CHÚ DẪN:
H: chiều cao sản phẩm bó vỉa; h1: chiều cao đỉnh;
h2: chiều sâu chôn đất; b1: chiều rộng phần vát;
b2: chiều rộng đan rãnh; L: chiều dài sản phẩm bó vỉa;
R: bán kính lượn tròn; Ф: đường kính lỗ thi công.
α: Góc vát; B: chiều rộng sản phẩm bó vỉa.
Hình 1 – Kích thước cơ bản của sản phẩm bê tông bó vỉa dạng tiêu chuẩn

a) Sản phẩm bó vỉa liên kết nối kiểu “tiếp xúc”, ký hiệu NTX

b) Sản phẩm bó vỉa liên kết nối kiểu “âm dương”, ký hiệu NAD

c) Sản phẩm bó vỉa liên kết nối kiểu “tự chèn”, ký hiệu NTC.
Hình 2 – Các hình thức liên kết nối sản phẩm bó vỉa
4.3. Ký hiệu
Ký hiệu qui ước cho sản phẩm bó vỉa bê tông đúc sẵn được ghi theo thứ tự: I, IIa, IIb, …, IVb;
– Tên sản phẩm: B;
– Hình dạng sản phẩm: TC là hình dạng tiêu chuẩn và DH là dị hình;
– Loại sản phẩm theo chức năng giao thông: I, IIa, IIb, …, IVb;
– Kích thước sản phẩm: chiều dài x chiều rộng;.
– Số hiệu tiêu chuẩn: TCVN 10797:2015;
Ví dụ: B.TC.IIa.1200X300.TCVN 10797:2015, là sản phẩm bê tông bó vỉa bê tông đúc sẵn tiêu chuẩn, loại IIa, dài 1200 mm, rộng 300 mm, sản xuất theo TCVN 10797:2015.
5. Yêu cầu kĩ thuật
5.1. Yêu cầu về vật liệu
5.1.1. Xi măng
Xi măng dùng để sản xuất sản phẩm bó vỉa bê tông đúc sẵn là xi măng poóc lăng (PC) theo TCVN 2682:2009 hoặc xi măng poóc lăng hỗn hợp (PCB) theo TCVN 6260:2009.
Ở những nơi sản phẩm bó vỉa bê tông đúc sẵn tiếp xúc với môi trường xâm thực thì sử dụng xi măng poóc lăng bền sunphát (PCSR) theo TCVN 6067:2004, hoặc xi măng poóc lăng hỗn hợp bền sunphát (PCBSR) theo TCVN 7711:2013.
Cũng có thể sử dụng các loại xi măng khác, nhưng phải phù hợp với các tiêu chuẩn kĩ thuật quốc gia tương ứng.
5.1.2. Cốt liệu
Cốt liệu lớn và nhỏ phù hợp với TCVN 7570:2006, ngoài ra còn thỏa mãn các qui định của thiết kế.
5.1.3. Nước
Nước trộn và bảo dưỡng bê tông phù hợp TCVN 4506:2012.
5.1.4. Phụ gia
Phụ gia các loại phù hợp TCVN 8826:2011, TCVN 8827:2011 và TCVN 10302:2014.
5.2. Yêu cầu về bê tông
Bê tông chế tạo sản phẩm bó vỉa phải đảm bảo đạt cường độ chịu nén theo thiết kế nhưng không được nhỏ hơn 25 MPa.
5.3. Yêu cầu về kích thước và mức sai lệch cho phép
5.3.1. Kích thước
Kích thước cơ bản của sản phẩm bó vỉa bê tông đúc sẵn tiêu chuẩn được qui định trong Bảng 1.
Bảng 1 – Kích thước cơ bản của sản phẩm bó vỉa bê tông đúc sẵn tiêu chuẩn
Kích thước tính bằng milimet
|
Loại bó vỉa |
Chiều dài, L |
Chiều rộng, B |
Chiều cao, H |
|||
|
Bó vỉa, b1 |
Đan rãnh, b2 |
Chiều cao đỉnh, h1 |
Chiều sâu chôn đất, h2 |
|||
|
Đường đô thị |
Đường khu công nghiệp |
|||||
|
B.I |
không nhỏ hơn 1000 |
không nhỏ hơn 200 |
– |
Từ 200 đến 300 |
không nhỏ hơn 200 |
không nhỏ hơn 300 |
|
B.IIa |
– |
Từ 100 đến 150 |
không nhỏ hơn 100 |
không nhỏ hơn 200 |
||
|
B.IIb |
Từ 300 đến 400 |
|||||
|
B.IIIa |
– |
|||||
|
B.IIIb |
Từ 300 đến 400 |
|||||
|
B.IVa |
không nhỏ hơn 1200 |
– |
không lớn hơn 60 |
|||
|
B.IVb |
Từ 300 đến 400 |
|||||
|
CHÚ THÍCH: B = b1+ b2; H= h1 + h2; Có thể sản xuất kích thước khác theo yêu cầu của thiết kế hoặc của khách hàng. |
||||||
5.3.2. Mức sai lệch cho phép
Mức sai lệch cho phép của chiều dài, chiều rộng và chiều cao được thể hiện trong Bảng 2.
Bảng 2 – Mức sai lệch cho phép của kích thước cơ bản sản phẩm bó vỉa bê tông đúc sẵn tiêu chuẩn
|
Loại kích thước |
Mức sai lệch cho phép, mm |
|
Chiều dài, L |
± 5 |
|
Chiều rộng, B |
± 3 |
|
Chiều cao, H |
5.3.3. Các kích thước khác
Các kích thước khác được quy định trong Bảng 3.
Bảng 3 – Các kích thước khác của sản phẩm bó vỉa bê tông đúc sẵn tiêu chuẩn
|
Tên gọi |
Mức |
|
1. Góc vát của sản phẩm bó vỉa loại IIa và IIb, không lớn hơn |
12° |
|
2. Góc vát của sản phẩm bó vỉa loại IIIa và loại IIIb, không nhỏ hơn |
45° |
|
3. Góc vát của sản phẩm bó vỉa loại IVa và loại Ivb, không nhỏ hơn |
75° |
|
4. Bán kính lượn tròn, mm |
từ 15 đến 30 |
|
5. Đường kính lỗ thi công, mm |
từ 50 đến 60 |
5.4. Yêu cầu ngoại quan và khuyết tật cho phép
5.4.1. Độ phẳng đều của mặt ngoài
Mặt ngoài của sản phẩm bó vỉa phải phẳng đều, không được có các điểm lồi hoặc lõm quá 5 mm.
5.4.2. Các khuyết tật do bê tông bị sứt vỡ
Khi có các khuyết tật vỡ bề mặt bê tông do tháo khuôn hoặc do quá trình thi công vận chuyển, tổng diện tích bề mặt bị sứt vỡ không được vượt quá 6 lần bình phương sai lệch của kích thước của sản phẩm bó vỉa (mm2), trong đó diện tích một miếng sứt vỡ không được lớn hơn 3 lần bình phương sai lệch kích thước.
5.4.3. Nứt bề mặt
Cho phép có các vết nứt bề mặt bê tông với chiều rộng của vết nứt không được lớn hơn 0,1 mm. Các vết nứt này có thể được sửa chữa bằng cách xoa hồ xi măng.
5.5. Yêu cầu về khả năng chịu tải
Khả năng chịu tải của sản phẩm bó vỉa bê tông đúc sẵn, xác định theo phương pháp nén trên bệ máy với lực nén giới hạn (tải trọng giới hạn) không nhỏ hơn 75 kN.
6. Phương pháp thử
6.1. Lấy mẫu
– Lấy mẫu theo lô. Cỡ lô thông thường là 300 sản phẩm. Nếu số lượng không đủ 300 sản phẩm cũng tính là một lô đủ.
– Để kiểm tra các chỉ tiêu về kích thước, ngoại quan và khuyết tật cho phép, lấy ngẫu nhiên không ít hơn 3 sản phẩm đại diện cho lô.
– Khả năng chịu tải được kiểm tra định kỳ ba tháng một lần. Từ các lô đã sản xuất trong hạn kỳ ba tháng sẽ lấy ngẫu nhiên hai sản phẩm đã đạt yêu cầu về ngoại quan, kích thước, cường độ bê tông để xác định khả năng chịu tải.
6.2. Xác định cường độ bê tông
– Bê tông phải được lấy mẫu, bảo dưỡng theo TCVN 3105:1993 và xác định cường độ nén theo TCVN 3118:1993. Khi cần thiết có thể kiểm tra cường độ chịu nén của bê tông trực tiếp trên sản phẩm theo TCVN 9490:2012 (ASTM C900-06).
6.3. Xác định kích thước và mức sai lệch cho phép
6.3.1. Thiết bị, dụng cụ
– Thước kẹp hàm kẹp lớn có độ chính xác 0,1 mm;
– Thước kim loại hoặc thước nhựa dài 3 m hoặc thước cuộn kim loại dài 5 m, có vạch chia 1 mm;
– Thước đo góc.
6.3.2. Cách tiến hành
Đo chiều dài, chiều rộng, chiều cao bằng thước nhựa hoặc thước cuộn.
Đo góc vát bằng thước đo góc.
Đo đường kính lỗ thi công bằng thước kẹp.
6.3.3. Đánh giá kết quả
Đối chiếu các kết quả đo trung bình với các thông số thiết kế sản phẩm bó vỉa để xác định độ sai lệch cho phép như đã qui định trong Điều 5.3. Nếu trong ba sản phẩm lấy ra kiểm tra có hơn một sản phẩm không đạt chất lượng thì lấy ba sản phẩm khác trong lô đó để kiểm tra lần hai. Nếu lại có hơn một sản phẩm không đạt yêu cầu chất lượng thì lô sản phẩm đó phải phân loại lại.
6.4. Xác định ngoại quan và khuyết tật cho phép
6.4.1. Thiết bị, dụng cụ
– Thước kim loại hoặc thước nhựa dài 300 mm, có vạch chia 1 mm
– Thước căn lá thép dày (0,05 – 0,1 )mm
– Kính lúp chia độ có độ phóng đại (5 – 10) lần.
6.4.2. Cách tiến hành
– Đo kích thước bê tông vỡ để tính diện tích vỡ: Qui vết vỡ về dạng hình tròn tương đương, đo đường kính trung bình để tính ra diện tích vỡ hoặc dùng giấy bóng kính có kẻ sẵn lưới ô vuông để đo diện tích bê tông vỡ, tính diện tích vỡ bằng cách đếm số ô vuông.
– Đo vết nứt bê tông: Quan sát phát hiện vết nứt bằng mắt thường hoặc dùng kính lúp. Nếu có vết nứt, thì cắm đầu thước căn lá vào vết nứt để xác định chiều rộng vết nứt.
6.4.3. Đánh giá kết quả
Đối chiếu với yêu cầu về ngoại quan và khuyết tật của sản phẩm bó vỉa được qui định trong Điều 5.4. Nếu trong ba sản phẩm lấy ra kiểm tra có hơn một sản phẩm không đạt chất lượng thì trong lô đó lại chọn ra ba mẫu khác để kiểm tra tiếp. Nếu lại có hơn một sản phẩm không đạt yêu cầu chất lượng thì lô sản phẩm đó phải phân loại lại.
6.5. Xác định khả năng chịu tải
6.5.1. Nguyên tắc
– Khả năng chịu tải của sản phẩm bó vỉa bê tông đúc sẵn được xác định bằng phương pháp nén trên bệ máy. Lực nén giới hạn không nhỏ hơn 75 kN ( 5.5 ) và được duy trì ít nhất trong 5 min mà viên bê tông bó vỉa không bị phá hủy.
– Khi nén, sản phẩm bó vỉa bê tông đúc sẵn được lắp đặt để tiếp xúc chặt chẽ với sàn máy nén và giữ cố định theo phương ngang, lực nén đặt tại điểm giữa của mặt trên sản phẩm bê tông bó vỉa (Hình 3).

CHÚ DẪN:
P – tải trọng nén;;
1 – tấm ép cứng;
2 – tấm đệm;
3 – mẫu thử.
Hình 3 – Sơ đồ thử khả năng chịu tải của sản phẩm bó vỉa bê tông đúc sẵn
6.5.2. Thiết bị, dụng cụ
6.5.2.1. Máy nén thuỷ lực hoặc máy nén cơ học dùng hệ thống kích. Máy phải được lắp đồng hồ lực có thang đo phù hợp sao cho tải trọng thử phải nằm trong phạm vi (20 ÷ 80) % giá trị lớn nhất của thang đo lực. Độ chính xác của máy trong khoảng ± 2 % tải trọng thử quy định;
6.5.2.2. Kính phóng đại, thước căn lá theo 6.4.1;
6.5.2.3. Tấm đệm cao su có độ cứng (45 ÷ 60) theo thang đo độ cứng Shore, đường kính ≥ 200mm;
6.5.2.4. Tấm ép cứng có đường kính 200 mm;
6.5.3. Cách tiến hành
– Lấy mẫu theo 6.1;
– Đặt sản phẩm bó vỉa cần thử lên bệ thử một cách chắc chắn, ổn định;
– Trong trường hợp sản phẩm độ vát lớn, được phép cắt bỏ phần đỉnh tại điểm giữa sản phẩm bó vỉa một diện tích đủ để lót miếng đệm cao su và tấm ép cứng bằng phẳng.
– Đặt tấm đệm cao su và tấm ép cứng lên bề mặt mẫu thử;
– Tác dụng lực lên điểm giữa của tấm ép cứng, tăng tải đến giá trị 10 % lực nén quy định;
– Kiểm tra độ ổn định, sự tiếp xúc của toàn bộ hệ thống, đảm bảo tiếp xúc tốt.
– Tiếp tục tăng tải với tốc độ gia tải 200 kN/min. Nếu xuất hiện vết nứt thì giữ tải trong 1 min và quan sát, đo chiều rộng vết nứt.
– Sau đó tiếp tục tăng tải tới khi đạt 75 % giá trị lực nén giới hạn thì tăng tải chậm lại với tốc độ 44 kN/min. Khi đạt lực nén 75 kN thì giữ tải trọng đó trong 5 min và quan sát. Nếu có vết nứt thì đo chiều rộng vết nứt bằng thước căn lá. Nếu không nứt, hoặc có vết nứt chiều rộng nhỏ hơn 0,1 mm thì ngừng gia tải và dừng thử.
6.5.4. Đánh giá kết quả
Khi thử đến tải trọng nén giới hạn có thể xảy ra các trường hợp sau đây:
– Xuất hiện vết nứt lớn hơn quy định (chiều rộng lớn hơn 0,1 mm), thì sản phẩm bê tông bó vỉa không đạt yêu cầu về khả năng chịu tải.
– Không xuất hiện vết nứt hoặc có vết nứt chiều rộng bằng hoặc nhỏ hơn 0,1 mm thì sản phẩm bê tông bó vỉa đạt yêu cầu về khả năng chịu tải.
Đánh giá kết quả kiểm tra lô thử: Nếu trong hai sản phẩm bó vỉa bê tông đúc sẵn đem thử có một sản phẩm trở lên không đạt yêu cầu về khả năng chịu tải, thì phải chọn hai sản phẩm bó vỉa bê tông đúc sẵn khác để thử tiếp. Nếu lại có một sản phẩm trở lên không đạt yêu cầu về khả năng chịu tải, thì lô sản phẩm đó không đạt yêu cầu về khả năng chịu tải và phải phân loại lại.
7. Ghi nhãn, vận chuyển và bảo quản
7.1. Ghi nhãn và thông tin cấp cho khách hàng
a) Nhãn được ghi trên mặt ngoài sản phẩm bó vỉa bê tông đúc sẵn, tại vị trí dễ quan sát nhất, phải ghi rõ:
– Tên, địa chỉ cơ sở sản xuất;
– Ký hiệu sản phẩm;
– Số hiệu lô sản phẩm;
– Ngày, tháng, năm sản xuất;
b) Vật liệu dùng ghi nhãn không bị hòa tan trong nước và phai màu.
c) Khi xuất xưởng phải có phiếu kết quả thử nghiệm sản phẩm của mỗi lô hàng, trong đó thể hiện kết quả thử các chỉ tiêu chất lượng theo tiêu chuẩn này, cấp cho khách hàng.
7.2. Vận chuyển và bảo quản
a) Sản phẩm bó vỉa bê tông đúc sẵn được xếp theo lô, thành hàng, nằm ngang, đặt trên palet,.
b) Sản phẩm bó vỉa bê tông đúc sẵn chỉ được phép bốc xếp, vận chuyển khi đã đạt được 70% cường độ nén theo thiết kế .
c) Sản phẩm bó vỉa bê tông đúc sẵn phải được bốc, xếp bằng phương tiện chuyên dụng, hoặc xe nâng dùng dây cáp mềm, hoặc thiết bị gá kẹp thích hợp.
d) Khi vận chuyển, các sản phẩm bó vỉa bê tông đúc sẵn phải được liên kết với phương tiện vận chuyển để tránh xô đẩy, va đập gây hư hỏng.
Phụ lục A
(tham khảo)
Một số dạng sản phẩm bê tông bó vỉa dị hình

|
a) Viên cong lõm |
b) Viên cong lồi |
CHÚ DẪN:
1 – sản phẩm bê tông bó vỉa;
2 – chiều dài loại cong;
3 – bán kính cong;
4 – đan rãnh.
Hình A.1 – Sản phẩm bó vỉa cong

CHÚ DẪN:
B – chiều rộng
H – chiều cao;
h1 – chiều cao đỉnh;
h2 – chiều sâu chôn đất.
Hình A.2 – Sản phẩm bó vỉa rẻ quạt

|
a) Sản phẩm góc trong |
b) Sản phẩm góc ngoài |
CHÚ DẪN:
B – chiều rộng;
C – cạnh góc;
H – chiều cao;
h1 – chiều cao đỉnh;
h2 – Chiều sâu chôn đất.
Hình A.3 – Sản phẩm bó vỉa góc

CHÚ DẪN:
L – chiều dài sản phẩm bó vỉa;
H – chiều cao không chôn đất của sản phẩm bó vỉa;
B – chiều rộng sản phẩm bó vỉa;
hd – chiều cao tới mặt vuốt đầu;
hc – chiều cao tới mặt vuốt cuối;
αd góc vát phía vuốt đầu;
αc – góc vát phía vuốt cuối.
Hình A.4 – Sản phẩm bó vỉa vuốt





