TCVN 9114:2019 Sản phẩm bê tông cốt thép ứng lực trước – Yêu cầu kỹ thuật và kiểm tra chấp nhận
TIÊU CHUẨN QUỐC GIA
TCVN 9114:2019
SẢN PHẨM BÊ TÔNG CỐT THÉP ỨNG LỰC TRƯỚC – YÊU CẦU KỸ THUẬT VÀ KIỂM TRA CHẤP NHẬN
Precast prestressed reinforced concrete product – Specification and acceptance test
Lời nói đầu
TCVN 9114:2019 thay thế TCVN 9114:2012.
TCVN 9114:2019 do Hội Bê tông Việt Nam biên soạn, Bộ Xây dựng đề nghị, Tổng cục Tiêu chuẩn Đo lường Chất lượng thẩm định, Bộ Khoa học và Công nghệ công bố.
SẢN PHẨM BÊ TÔNG CỐT THÉP ỨNG LỰC TRƯỚC – YÊU CẦU KỸ THUẬT VÀ KIỂM TRA CHẤP NHẬN
Precast prestressed reinforced concrete product – Specification and acceptance test
1 Phạm vi áp dụng
Tiêu chuẩn này quy định yêu cầu kỹ thuật và quy trình kiểm tra chấp nhận các sản phẩm bê tông cốt thép ứng lực trước căng trước đúc sẵn dùng để thi công lắp ghép trong các công trình xây dựng dân dụng và công nghiệp.
2 Tài liệu viện dẫn
Các tài liệu viện dẫn sau đây là cần thiết khi áp dụng tiêu chuẩn này. Đối với các tài liệu viện dẫn ghi năm công bố thì áp dụng bản được nêu. Đối với các tài liệu viện dẫn không ghi năm công bố thì áp dụng phiên bản mới nhất, bao gồm cả các bản sửa đổi, bổ sung (nếu có).
TCVN 1651-1:2018, Thép cốt bê tông – Phần 1: Thép thanh tròn trơn.
TCVN 1651-2:2018, Thép cốt bê tông – Phần 2: Thép thanh vằn.
TCVN 1651-3:2018, Thép cốt bê tông – Phần 3: Lưới thép hàn.
TCVN 2682:2009, Xi măng poóc lăng – Yêu cầu kỹ thuật.
TCVN 3105:1993, Hỗn hợp bê tông nặng và bê tông nặng – Lấy mẫu, chế tạo và bảo dưỡng mẫu thử.
TcVN 3118:1993, Bê tông nặng – Phương pháp xác định cường độ nén
TCVN 4506:2012, Nước trộn cho bê tông và vữa – Yêu cầu kỹ thuật.
TCVN 6260:2009, Xi măng poóc lăng hỗn hợp – Yêu cầu kỹ thuật.
TCVN 6284-1:1997, Thép cốt bê tông dự ứng lực – Phần 1: Yêu cầu chung.
TCVN 6284-2:1997, Thép cốt bê tông dự ứng lực – Phần 2: Dây kéo nguội (ISO 6934-2)
TCVN 6284-3:1997, Thép cốt bê tông dự ứng lực – Phần 3: Dây tôi và ram.
TCVN 6284-4:1997, Thép cốt bê tông dự ứng lực – Phần 4: Dảnh.
TCVN 6288:1997 (ISO 10544:1992), Dây thép vuốt nguội để làm cốt bê tông và sản xuất lưới thép hàn làm cốt.
TCVN 7570:2006, Cốt liệu cho bê tông và vữa – Yêu cầu kỹ thuật.
TCVN 8826:2011, Phụ gia hóa học cho bê tông.
TCVN 8827:2011, Phụ gia khoáng hoạt tính cao dùng cho bê tông và vữa – Silica fume và tro trấu nghiền mịn.
TCVN 9204:2012, Vữa xi măng khô trộn sẵn không co.
TCVN 9205:2012, Cát nghiền cho bê tông và vữa.
TCVN 9334:2012, Bê tông nặng – Phương pháp xác định cường độ nén bằng súng bật nẩy.
TCVN 9335:2012, Bê tông nặng – Phương pháp thí nghiệm không phá hủy – Xác định cường độ nén sử dụng kết hợp máy đo siêu âm và súng bật nẩy.
TCVN 9346:2012, Kết cấu bê tông và bê tông cốt thép – Yêu cầu bảo vệ chống ăn mòn trong môi trường biển.
TCVN 9347:2012, Cấu kiện bê tông và bê tông cốt thép đúc sẵn – Phương pháp thí nghiệm gia tải để đánh giá độ bền, độ cứng và khả năng chống nứt.
TCVN 9357:2012, Bê tông nặng – Phương pháp thử không phá hủy – Đánh giá chất lượng bê tông bằng vận tốc xung siêu âm.
TCVN 10302:2014, Phụ gia hoạt tính tro bay dùng cho bê tông, vữa xây và xi măng.
TCVN 10303:2104, Bê tông – Kiểm tra và đánh giá cường độ chịu nén.
TCVN 11586:2016, Xỉ hạt lò cao nghiền mịn cho bê tông và vữa xây dựng.
TCVN 12041:2017, Kết cấu bê tông và bê tông cốt thép – Yêu cầu chung về thiết kế độ bền lâu và tuổi thọ trong môi trường xâm thực.
TCVN 12300:2018, Phụ gia cuốn khí cho bê tông.
TCVN 12301:2018, Phụ gia hóa học cho bê tông chảy.
3 Yêu cầu kỹ thuật
3.1 Yêu cầu về vật liệu
3.1.1 Xi măng
Xi măng dùng cho bê tông phải đảm bảo chất lượng theo TCVN 2682:2009, hoặc TCVN 6260:2009 hoặc các loại xi măng khác tùy theo yêu cầu nhưng phải phù hợp với tiêu chuẩn tương ứng.
3.1.2 Cốt liệu
Cốt liệu lớn và cốt liệu nhỏ phù hợp với TCVN 7570:2006. Cát nghiền phù hợp với TCVN 9205:2012.
3.1.3 Nước
Nước trộn bê tông và bảo dưỡng phù hợp với TCVN 4506:2012.
3.1.4 Phụ gia
Phụ gia, nếu có sử dụng, phải phù hợp với tiêu chuẩn tương ứng.
– Phụ gia hóa học phù hợp với TCVN 8826:2011;
– Phụ gia khoáng hoạt tính cao – Silica fume và tro trấu nghiền mịn phù hợp với TCVN 8827:2011;
– Phụ gia hoạt tính tro bay phù hợp với TCVN 10302:2014;
– Xỉ lò cao nghiền mịn phù hợp với TCVN 11586:2016;
– Phụ gia cuốn khí cho bê tông phù hợp với TCVN 12300:2018;
– Phụ gia hóa học cho bê tông chảy phù hợp với TCVN 12301:2018;
– Các phụ gia khoáng và phụ gia hóa học khác sử dụng theo yêu cầu của thiết kế hoặc khách hàng.
3.1.5 Yêu cầu đối với thép
3.1.5.1 Thép cốt
Thép cốt dùng trong sản phẩm bê tông cốt thép ứng lực trước căng trước đúc sẵn phải phù hợp với TCVN 6284-1:1997 (ISO 6394-1:1991), TCVN 6284-2:1997 (ISO 6394-2:1991), TCVN 6284-31:1997 (ISO 6394-3:1991), TCVN 6284-4:1997 (ISO 6394-4:1991), TCVN 1651-1:2018, TCVN 1651-2:2018, TCVN 1651-3:2018 hoặc TCVN 6288:1997 (ISO 10544:1992) hoặc các tiêu chuẩn tương đương của nước ngoài.
3.1.5.2 Neo thép
Neo cốt thép ứng lực trước và các phụ kiện của neo phải đảm bảo theo đúng các quy định trong thiết kế.
3.2 Yêu cầu đối với bê tông
3.2.1 Hỗn hợp bê tông có độ sụt phù hợp với yêu cầu thiết kế và có tính đồng nhất, không bị phân tầng, tách nước.
3.2.2 Cường độ chịu nén
Bê tông cần đạt được cấp cường độ chịu nén theo quy định của thiết kế. Cường độ bê tông để cắt thép ứng lực trước theo chỉ định của thiết kế hoặc do nhà sản xuất chủ động tính toán phù hợp với điều kiện, quy trình công nghệ sản xuất.
3.2.3 Tổng hàm lượng clo
Tổng hàm lượng clo trong bê tông phải phù hợp với các yêu cầu nêu trong TCVN 9346:2012. Trong trường hợp kết cấu phải làm việc trong môi trường xâm thực khác, thì tham khảo thêm TCVN 12041:2017.
3.3 Yêu cầu về mức sai lệch kích thước của sản phẩm
3.3.1 Đối với cọc đặc tiết diện vuông (Hình 1)

Hình 1 – Sơ dồ hình dáng và cấu tạo cọc đặc tiết diện vuông
Mức sai lệch kích thước của sản phẩm cọc đặc tiết diện vuông được quy định tại Bảng 1.
Bảng 1 – Mức sai lệch kích thước của sản phẩm cọc đặc tiết diện vuông
|
Loại kích thước |
Mức sai lệch cho phép, mm |
|
1. Chiều dài (a) |
± 25 |
|
2. Chiều rộng (b) |
± 5 |
|
3. Độ cong so với đường sinh của cấu kiện (j) |
± 5 |
|
4. Vị trí thép ứng lực trước (h) |
± 3 |
|
5. Độ vuông góc mặt phẳng đầu cọc (g) |
± 5 |
|
6. Độ phẳng cục bộ bề mặt trên (w) |
± 5 |
|
7. Vị trí của móc cẩu (r) |
|
|
– Song song với chiều dài (r1) |
± 50 |
|
– Vuông góc với chiều dài (r2) |
± 20 |
3.3.2 Đối với dầm chữ T (Hình 2)

Hình 2 – Sơ dồ hình dáng và cấu tạo dầm chữ T
Mức sai lệch kích thước của sản phẩm dầm chữ T được quy định tại Bảng 2.
Bảng 2 – Mức sai lệch kích thước của sản phẩm dầm chữ T
|
Loại kích thước |
Mức sai lệch cho phép, mm |
|
1. Chiều dài (a) |
± (20 + a/2000) |
|
2. Chiều rộng (b) |
± 5 |
|
3. Chiều cao (c) |
± 5 |
|
Chiều cao của vai dầm (c1) |
± 5 |
|
4. Chiều rộng thân dầm (b1) |
± 5 |
|
5. Độ dày cánh dầm (e) |
± 5 |
|
6. Độ vuông góc mặt phẳng đầu dầm (g, g1) |
± 10 |
|
7. Độ cong so với đường sinh (j) khi: |
|
|
– cấu kiện dài 1220 cm |
± 5 |
|
– cấu kiện dài từ lớn hơn 1220 đến 1830 cm |
± 8 |
|
– cấu kiện dài hơn 1830 cm |
± 12 |
|
8. Vị trí thép ứng lực trước (h) |
± 3 |
|
9. Vị trí của neo cáp xiên (i) |
± 20 |
|
10. Vị trí của lỗ chờ (k, k1) |
± 20 |
|
11. Kích thước lỗ chờ (x) |
± 10 |
|
12. Vị trí của các tấm thép (m, m1) |
± 20 |
|
13. Vị trí của tấm thép gối đỡ (n) |
± 10 |
|
14. Độ phẳng của tấm thép chờ cánh dầm (o) |
± 3 |
|
15. Độ phẳng của tấm thép chờ tại gối đỡ (p) |
± 3 |
|
16. Vị trí móc cẩu (r): |
|
|
– Song song với chiều dài (r1) |
± 50 |
|
– Vuông góc với chiều dài (r2) |
± 20 |
|
17. Độ phẳng cục bộ bề mặt trên (w) |
± 5 |
3.3.3 Đối với dầm chữ TT (Hình 3)

Hình 3 – Sơ đồ hình dáng và cấu tạo dầm chữ TT
Mức sai lệch kích thước của sản phẩm dầm chữ TT được quy định tại Bảng 3.
Bảng 3 – Mức sai lệch kích thước của sản phẩm dầm chữ TT
|
Loại kích thước |
Mức sai lệch cho phép, mm |
|
1. Chiều dài (a) |
± (20 + a/2000) |
|
2. Chiều rộng (b) |
± 5 |
|
3. Chiều cao (c) |
± 5 |
|
4. Chiều rộng thân dầm (b1) |
± 3 |
|
5. Độ dày cánh dầm (e) |
± 5 |
|
6. Khoảng cách giữa các thân dầm (t) |
± 10 |
|
7. Độ vuông góc mặt phẳng đầu dầm (g, g1) |
± 10 |
|
8. Độ cong so với đường sinh (j) khi: |
|
|
– cấu kiện dài 1220 cm |
± 5 |
|
– cấu kiện dài từ lớn hơn 1220 cm đến 1830 cm |
± 8 |
|
– cấu kiện dài hơn 1830 cm |
± 12 |
|
9. Vị trí thép ứng lực trước (h) |
± 3 |
|
10. Vị trí của neo cáp xiên (i) |
± 20 |
|
11. Vị trí của lỗ chờ (k, k1) |
± 20 |
|
12. Kích thước lỗ chờ (x) |
± 20 |
|
13. Vị trí của tấm thép (m) |
± 20 |
|
14. Vị trí của tấm thép gối đỡ (n) |
± 10 |
|
15. Độ phẳng của tấm thép chờ cánh dầm (o) |
± 3 |
|
16. Độ phẳng của tấm thép chờ tại gối đỡ (p) |
± 3 |
|
17. Vị trí móc cẩu (r): |
|
|
– Song song với chiều dài (r1) |
± 50 |
|
– Vuông góc với chiều dài (r2) |
± 20 |
|
18. Độ phẳng cục bộ bề mặt trên (w) (Không áp dụng cho bề mặt tạo gồ ghề để liên kết tốt với lớp bê tông đổ bù hoặc các mặt không nhìn thấy được) |
± 5 |
3.3.4 Đối với dầm móng (Hình 4)

Hình 4 – Sơ đồ hình dáng và cấu tạo dầm móng
Mức sai lệch kích thước của sản phẩm dầm móng được quy định tại Bảng 4.
Bảng 4 – Mức sai lệch kích thước của sản phẩm dầm móng
|
Loại kích thước |
Mức sai lệch cho phép, mm |
|
1. Chiều dài (a) |
± (20 + a/2000) |
|
2. Chiều rộng (b) |
± 5 |
|
3. Chiều cao (c) |
± 5 |
|
4. Chiều cao (của vai dầm) (c1) |
± 5 |
|
5. Chiều rộng thân dầm (b1) |
± 3 |
|
6. Chiều rộng của gờ dầm (b2) |
± 5 |
|
7. Độ cong so với đường sinh (j) khi: |
|
|
– cấu kiện dài 1220 cm |
± 5 |
|
– cấu kiện dài từ lớn hơn 1220 cm đến 1830 cm |
± 10 |
|
– cấu kiện dài hơn 1830 cm |
± 15 |
|
8. Độ vuông góc mặt phẳng đầu dầm (g, g1) |
± 10 |
|
9. Vị trí thép ứng lực trước (h) |
± 3 |
|
10. Vị trí của neo cáp xiên (i) |
|
|
– Chiều dài cấu kiện ≤ 915 cm |
± 10 |
|
– Chiều dài cấu kiện > 915 cm |
± 20 |
|
11. Vị trí của các tấm thép (m, m1) |
± 20 |
|
12. Vị trí của tấm thép gối đỡ (n) |
± 10 |
|
13. Độ phẳng của các tấm thép (o) |
± 3 |
|
14. Độ phẳng của tấm thép tại gối đỡ (p) |
± 3 |
|
15. Vị trí móc cẩu (r): |
|
|
– Song song với chiều dài (r1) |
± 50 |
|
– Vuông góc với chiều dài (r2) |
± 20 |
|
16. Vị trí của thép chờ (q): |
|
|
– Khoảng cách theo chiều dọc (q1) |
± 20 |
|
– Khoảng cách theo chiều thẳng đứng trên mặt dầm (q2) |
± 10 |
|
17. Độ phẳng cục bộ bề mặt trên (w) (Không áp dụng cho bề mặt tạo gồ ghề để liên kết tốt với lớp bê tông đổ bù hoặc các mặt không nhìn thấy được) |
± 5 |
3.3.5 Đối với dầm chữ I (Hình 5)

Hình 5 – Sơ đồ hình dáng và cấu tạo dầm chữ I
Mức sai lệch kích thước của sản phẩm dầm chữ I được quy định tại Bảng 5.
Bảng 5 – Mức sai lệch kích thước của sản phẩm dầm chữ I
|
Loại kích thước |
Mức sai lệch cho phép, mm |
|
1. Chiều dài (a) |
± (20 + a/2000) |
|
2. Chiều rộng (b) |
± 5 |
|
3. Chiều cao (c) |
± 10 |
|
4. Chiều rộng thân dầm bên trên (b1) |
± 5 |
|
5. Chiều rộng thân dầm (b2) |
± 5 |
|
6. Chiều cao bầu dầm trên (ct) |
± 5 |
|
7. Chiều cao bầu dầm dưới (cd) |
± 5 |
|
8. Độ cong so với đường sinh của cấu kiện (j) |
± 10 |
|
9. Độ vuông góc mặt phẳng đầu dầm (g, g1) |
± 20 |
|
10. Vị trí thép ứng lực trước (h) |
± 3 |
|
11. Vị trí của neo cáp xiên (i) |
± 20 |
|
12. Vị trí của tấm thép (m, m1) |
± 20 |
|
13. Vị trí của tấm thép gối đỡ (n) |
± 10 |
|
14. Độ phẳng của các tấm thép (o) |
± 3 |
|
15. Độ phẳng của tấm thép gối đỡ (p) |
± 3 |
|
16. Vị trí móc cẩu (r): |
|
|
+ Song song với chiều dài (r1) |
± 50 |
|
+ Vuông góc với chiều dài (r2) |
± 20 |
|
17. Vị trí của thép chờ (q): |
|
|
+ Khoảng cách theo chiều dọc (q1) |
± 20 |
|
+ Khoảng cách theo chiều thẳng đứng trên mặt dầm (q2) |
± 10 |
|
18. Độ phẳng cục bộ bề mặt trên (w) (Không áp dụng cho bề mặt tạo gồ ghề để liên kết tốt với lớp bê tông đổ bù hoặc các mặt không nhìn thấy được) |
± 5 |
3.3.6 Đối với dầm hộp (Hình 6)

Hình 6 – Sơ đồ hình dáng và cấu tạo dầm hộp
Mức sai lệch kích thước của sản phẩm dầm hộp được quy định tại Bảng 6.
Bảng 6 – Mức sai lệch kích thước của sản phẩm dầm hộp
|
Loại kích thước |
Mức sai lệch cho phép, mm |
|
1. Chiều dài (a) |
± (20 + a/2000) |
|
2. Chiều rộng (b) |
± 5 |
|
3. Chiều cao (c) |
± 10 |
|
4. Chiều dày (bản trên) (d1) |
± 10 |
|
5. Chiều dày (bản dưới) (d2) |
± 10 |
|
6. Độ cong so với đường sinh (j) khi: |
|
|
– cấu kiện dài 1220 cm |
± 10 |
|
– cấu kiện dài từ lớn hơn 1220 đến 1830 cm |
± 15 |
|
– cấu kiện dài hơn 1830 cm |
± 20 |
|
7. Độ vuông góc mặt phẳng đầu dầm (g, g1) |
± 10 |
|
8. Vị trí thép ứng lực trước (h) |
± 3 |
|
9. Vị trí neo các sợi cáp xiên (i) |
± 20 |
|
10. Vị trí của các tấm thép (m) |
± 10 |
|
11. Độ phẳng của các tấm thép (o) |
± 3 |
|
12. Vị trí của thép chờ (q): |
|
|
– Khoảng cách theo chiều dọc (q1) |
± 20 |
|
– Khoảng cách theo chiều thẳng đứng trên mặt dầm (q2) |
± 10 |
|
12. Vị trí của móc cẩu (r) |
± 50 |
|
14. Độ phẳng cục bộ (w) (Không áp dụng cho bề mặt trên của dầm để gồ ghề để nhận lớp bê tông đổ bù hoặc các bề mặt không nhìn thấy được) |
± 5 |
3.3.7 Đối với cột (Hình 7)

Hình 7 – Sơ đồ hình dáng và cấu tạo cột
Mức sai lệch kích thước của sản phẩm cột được nêu trong Bảng 7.
Bảng 7 – Mức sai lệch kích thước của sản phẩm cột
|
Loại kích thước |
Mức sai lệch cho phép, mm |
|
1. Chiều dài (a) |
± (10 + a/2000) |
|
2. Các kích thước mặt cắt ngang (b, b1) |
± 5 |
|
3. Độ vuông góc mặt phẳng đầu cột (g, g1) |
± 5 |
|
4. Độ cong so với đường sinh của cấu kiện (j) |
± 12 |
|
5. Vị trí của thép ứng lực trước (h) |
± 3 |
|
6. Vị trí của các tấm thép (m, m1) |
± 5 |
|
7. Độ phẳng của các tấm thép (o) |
± 3 |
|
8. Vị trí của móc cẩu (r) |
|
|
– Song song với chiều dài (r1) |
± 50 |
|
– Vuông góc với chiều dài (r2) |
± 20 |
|
9. Kích thước vị trí các vai (v1, v2, v3) |
0 – 10 |
|
10. Độ vuông góc của vai (v4) |
± 5 |
|
11. Độ phẳng cục bộ của các bề mặt bất kỳ (w) (Không áp dụng cho bề mặt không nhìn thấy) |
± 5 |
3.3.8 Đối với bản thang (Hình 8)

Hình 8 – Sơ đồ hình dáng và cấu tạo bản thang
Mức sai lệch kích thước của sản phẩm bản thang được quy định tại Bảng 8.
Bảng 8 – Sai lệch kích thước của sản phẩm bản thang
|
Loại kích thước |
Mức sai lệch cho phép, mm |
|
1. Chiều dài theo phương ngang (a) |
± 10 |
|
2. Chiều rộng (b) |
± 5 |
|
3. Chiều cao (c) |
± 10 |
|
4. Độ dày (d, d1) |
± 5 |
|
5. Chiều cao bậc thang (c1) |
± 5 |
|
6. Chiều rộng bậc thang (b1) |
± 5 |
|
7. Độ vuông góc của mặt phẳng đầu bản thang (g) |
± 10 |
|
8. Vị trí thép ứng lực trước (h) |
± 3 |
|
9. Vị trí thép chờ (q, q1) |
± 10 |
|
10. Vị trí của móc cẩu: (r) |
|
|
– Song song với chiều dài (r1) |
± 50 |
|
– Vuông góc với chiều dài (r2) |
± 20 |
3.3.9 Đối với tấm tường sườn (Hình 9)

Hình 9 – Sơ đồ hình dáng và cấu tạo tấm tường sườn
Mức sai lệch kích thước của sản phẩm tấm tường sườn được quy định tại Bảng 9.
Bảng 9 – Mức sai lệch kích thước của sản phẩm tấm tường sườn
|
Loại kích thước |
Mức sai lệch cho phép, mm |
|
1. Chiều dài (a) |
± 10 |
|
2. Chiều rộng (b) |
± 5 |
|
3. Chiều cao (c) |
± 5 |
|
4. Chiều rộng của sườn (b1) |
± 3 |
|
5. Chiều dày của bản tường (d) |
± 5 |
|
6. Khoảng cách giữa các sườn (t) |
± 10 |
|
7. Độ vuông góc mặt phẳng đầu tấm bản (g, g1) |
± 5 |
|
8. Độ cong so với đường sinh (j) khi: |
|
|
– cấu kiện dài 1220 cm |
± 10 |
|
– cấu kiện dài hơn 1220 cm |
± 15 |
|
9. Vị trí của thép ứng lực trước (h) |
± 3 |
|
10. Vị trí của lỗ chờ (k, k1) |
± 20 |
|
11. Kích thước của lỗ chờ (x) |
± 10 |
|
12. Vị trí những tấm thép (m) |
± 10 |
|
13. Độ phẳng của những tấm thép (o) |
± 3 |
|
14. Vị trí của các móc cẩu (r) |
|
|
+ Song song với chiều dài (r1) |
± 50 |
|
+ Vuông góc với chiều dài (r2) |
± 20 |
|
15. Vị trí các vai (v1, v2) |
± 5 |
|
16. Độ vuông góc các vai (v3) |
± 3 |
|
17. Độ phẳng cục bộ của bất kỳ mặt phẳng nào (Không áp dụng cho những mặt phẳng không nhìn thấy được) (w) |
± 5 |
3.3.10 Đối với tấm tường cách nhiệt – cách âm (Hình 10)

Hình 10 – Sơ đồ hình dáng và cấu tạo tấm tường cách âm – cách nhiệt
Mức sai lệch kích thước của sản phẩm tấm tường cách nhiệt – cách âm được quy định tại Bảng 10.
Bảng 10 – Mức sai lệch kích thước của sản phẩm tấm tường cách nhiệt – cách âm
|
Loại kích thước |
Mức sai lệch cho phép, mm |
|
1. Chiều dài (a) |
± 10 |
|
2. Chiều rộng (b) |
± 5 |
|
3. Chiều cao (c) |
± 5 |
|
4. Bề dày 2 lớp bê tông ngoài (d) |
± 5 |
|
5. Độ vuông góc mặt phẳng đầu tấm tường (g) |
± 10 |
|
6. Độ cong so với đường sinh của cấu kiện (j) |
± 10 |
|
7. Vị trí của thép ứng lực trước (h) |
± 3 |
|
8. Vị trí của lỗ chờ (k, k1) |
± 20 |
|
9. Kích thước của lỗ chờ (x) |
± 10 |
|
10. Vị trí những tấm thép (m) |
± 10 |
|
11. Độ phẳng của những tấm thép (o) |
± 3 |
|
12. Vị trí của móc cẩu (r) |
|
|
– Song song với chiều dài (r1) |
± 50 |
|
– Vuông góc với chiều dài (r2) |
± 20 |
|
13. Vị trí các vai (v1, v2) |
± 5 |
|
14. Độ vuông góc các vai (v3) |
± 3 |
|
15. Độ phẳng cục bộ của bất kỳ mặt phẳng nào (Không áp dụng cho những mặt phẳng không nhìn thấy được) (w) |
± 5 |
3.3.11 Đối với xà gồ chữ T (Hình 11)

Hình 11 – Sơ đồ hình dáng và cấu tạo xà gồ chữ T
Mức sai lệch kích thước của sản phẩm xà gồ chữ T được quy định tại Bảng 11.
Bảng 11 – Mức sai lệch kích thước của sản phẩm xà gồ chữ T
|
Loại kích thước |
Mức sai lệch cho phép, mm |
|
1. Chiều dài (a) |
± 20 |
|
2. Chiều rộng (b) |
± 5 |
|
3. Chiều cao (c) |
± 5 |
|
4. Độ dày cánh xà gồ (d) |
± 5 |
|
5. Độ rộng thân xà gồ (b1) |
± 3 |
|
6. Độ cong so với đường sinh (j) khi: |
|
|
– cấu kiện dài đến 1220 cm |
± 15 |
|
– cấu kiện dài từ lớn hơn 1220 cm đến 1830 cm |
± 20 |
|
– cấu kiện dài hơn 1830 cm |
± 25 |
|
7. Độ vuông góc mặt phang đầu cấu kiện (g) |
± 10 |
|
8. Vị trí thép ứng lực trước (h) |
± 3 |
|
9. Vị trí những tấm thép (m, m1) |
± 15 |
|
10. Vị trí của những tấm thép gối đỡ (n) |
± 10 |
|
11. Độ phẳng của những tấm thép (o) |
± 5 |
|
12. Độ phẳng của những tấm thép gối đỡ (p) |
± 3 |
|
13. Vị trí của móc cẩu (r) |
|
|
– Song song với chiều dài (r1) |
± 50 |
|
– Vuông góc với chiều dài (r2) |
± 20 |
|
14. Độ phẳng cục bộ của bất kỳ mặt phẳng nào (Không áp dụng cho những mặt phẳng không nhìn thấy được( w) |
± 5 |
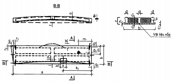
3.3.12 Đối với tấm sàn rỗng, sàn có lõi xốp (Hình 12 và Hình 13)

Hình 12 – Sơ đồ hình dáng và cấu tạo tấm sàn rỗng

Hình 13 – Sơ đồ hình dáng và cấu tạo tấm sàn có lõi xốp
Mức sai lệch kích thước của sản phẩm tấm sàn rỗng, sàn có lõi xốp được quy định tại Bảng 12.
Bảng 12 – Mức sai lệch kích thước của sản phẩm tấm sàn rỗng, sàn có lõi xốp
|
Loại kích thước |
Mức sai lệch cho phép, mm |
|
1. Chiều dài (a) |
+ 15 -10 |
|
2. Chiều rộng (b) |
± 5 |
|
3. Chiều cao (c) |
± 5 |
|
4. Chiều cao gờ (c1) |
± 5 |
|
5. Vị trí lỗ rỗng (c2) |
± 10 |
|
6. Độ dày của gân tấm sàn (d) |
± 5 |
|
7. Chiều dày lớp bê tông bên trên và bên dưới (d1, d2) |
± 5 |
|
8. Độ dày của gân tấm sàn theo phương dọc (d3) |
± 10 |
|
9. Vị trí của lỗ chờ (k, k1) |
± 20 |
|
10. Kích thước của lỗ chờ (x) |
± 10 |
|
11. Độ vuông góc mặt phẳng đầu tấm (g) |
± 10 |
|
12. Độ cong tính từ đường thẳng song song với đường trục của cấu kiện (j) |
± 10 |
|
13. Vị trí thép ứng lực trước (h) |
± 3 |
|
14. Vị trí của các tấm thép (m, m1) |
± 10 |
|
15. Độ phẳng của các tấm thép chờ (o) |
± 5 |
|
16. Độ nghiêng của gân ngoài tấm sàn (s) |
± 5 |
|
18. Vị trí thép chờ (q) |
|
|
– Theo phương đứng (q1) |
± 10 |
|
– Theo phương ngang (q2) |
± 10 |
|
– Chiều dài thép chờ (q3) |
± 20 |
|
19. Vị trí của móc cẩu (r) |
|
|
– Song song với chiều dài (r1) |
± 50 |
|
– Vuông góc với chiều dài (r2) |
± 20 |
|
20. Độ phẳng cục bộ (Không áp dụng cho bề mặt gồ ghề để nhận lớp bê tông đổ bù hoặc các bề mặt không nhìn thấy được) (w) |
± 5 |
3.3.13 Đối với tấm sàn đặc (Hình 14)

Hình 14 – Sơ đồ hình dáng và cấu tạo tấm sàn đặc
Mức sai lệch kích thước của sản phẩm tấm sàn đặc được quy định tại Bảng 13.
Bảng 13 – Mức sai lệch kích thước của sản phẩm tấm sàn đặc
|
Loại kích thước |
Mức sai số cho phép, mm |
|
1. Chiều dài (a) |
+ 15 – 10 |
|
2. Chiều rộng (b) |
± 5 |
|
3. Chiều cao (c) |
± 5 |
|
4. Chiều cao gờ (c1) |
± 5 |
|
5. Độ vuông góc đầu tấm (g) |
± 10 |
|
6. Độ cong so với đường sinh của cấu kiện (j) |
± 10 |
|
7. Vị trí thép ứng lực trước (h) |
± 3 |
|
8. Vị trí của móc cẩu: (r) |
|
|
– Song song với chiều dài (r1) |
± 50 |
|
– Vuông góc với chiều dài (r2) |
± 20 |
|
9. Vị trí của lỗ chờ (k, k1) |
± 20 |
|
10. Kích thước lỗ chỗ (x) |
± 10 |
|
11. Vị trí thép chờ (q, q1) |
± 10 |
|
12. Độ phẳng cục bộ (Không áp dụng cho bề mặt gồ ghề để nhận lớp bê tông đổ bù hoặc các bề mặt không nhìn thấy được) (w) |
± 5 |
3.4 Yêu cầu ngoại quan và khuyết tật cho phép
3.4.1 Độ phẳng đều của bề mặt
– Bề mặt bên ngoài của sản phẩm phải có màu sắc đồng đều, đảm bảo phẳng, không có các điểm lõm hoặc lồi quá 5 mm. Trừ các thép chờ đặt sẵn, không được để lộ thép ra mặt ngoài bê tông. Không có hư hỏng mặt ngoài của bê tông như rỗ, nứt vỡ các cạnh, góc vượt quá mức cho phép theo quy định. Với các chỗ bị rỗ, sứt vỡ có diện tích nhỏ hơn hoặc bằng 50 cm2, cho phép hoàn thiện bằng vữa không co (theo TCVN 9204:2012) có cường độ tương đương cường độ bê tông chế tạo sản phẩm. Đối với các chỗ có vết rỗ, sứt vỡ có diện tích bằng hoặc lớn hơn 50 cm2 mà không ảnh hưởng đến khả năng làm việc của cấu kiện phải có biên bản kiểm tra và văn bản sửa chữa của người có thẩm quyền.
– Đối với các bề mặt được làm nhám phải tạo nhám đúng với yêu cầu quy định.
3.4.2 Vết nứt bề mặt trên
Cho phép có vết nứt ở bề mặt trên có chiều rộng nhỏ hơn 0,1 mm. Các vết nứt này cần được xoa kín bằng hồ xi măng.
3.5 Yêu cầu về độ vồng
Độ vồng (f) của các cấu kiện dầm chữ T, chữ TT, của dầm tường lửng, dầm chữ I, dầm hộp, tấm tường sườn, tấm tường cách nhiệt – cách âm, xà gồ chữ T, xà gồ hình thang, tấm sàn rỗng có lõi xốp và tấm sàn đặc phụ thuộc chiều dài cấu kiện sẽ được đo và so sánh với giá trị độ vồng thiết kế, với mức sai lệch cho phép do thiết kế quy định. Độ vồng được đo và ghi lại ở thời gian thích hợp ngay sau khi tiến hành truyền ứng lực trước nhưng không quá 72 h kể từ sau khi truyền ứng lực trước.
3.6 Yêu cầu về chi tiết chờ liên kết
Các chi tiết chờ như: thép chờ, bản thép chờ, lỗ chờ, v.v… được đặt trong các cấu kiện theo đúng vị trí quy định kỹ thuật của thiết kế.
4 Kiểm tra chấp nhận
4.1 Quy định chung
4.1.1 Đối với các cấu kiện sản xuất công nghiệp là sản phẩm hàng hóa lưu thông trên thị trường, được điều chỉnh theo quy định của pháp luật về sản phẩm hàng hóa. Khi xuất xưởng phải có Phiếu kiểm tra đánh giá chất lượng sản phẩm theo tiêu chuẩn này.
Lô sản phẩm bao gồm các sản phẩm cùng kiểu loại, sản xuất trong cùng thời gian, cùng vật liệu và cùng công nghệ, khối lượng không quá 100 sản phẩm. Nếu số lượng sản phẩm như quy định trên chưa đủ 100 cũng được coi là lô đủ.
4.1.2 Đối với sản phẩm cấu kiện được sản xuất đơn chiếc cho công trình xây dựng theo yêu cầu thiết kế thì khi xuất cho khách hàng phải có hồ sơ chứng chỉ chất lượng kèm theo gồm các tài liệu sau:
4.1.2.1 Chứng chỉ nguyên vật liệu sản xuất bê tông (do nhà cung cấp hoặc kết quả thử nghiệm của cơ sở sản xuất theo các tiêu chuẩn hiện hành) của xi măng, cốt liệu lớn, cốt liệu nhỏ (cát tự nhiên, cát nhân tạo); chứng chỉ chất lượng thép các loại: thép cốt, thép tấm và thép hình (nếu có), thép đai; nước; phụ gia hóa học, phụ gia khoáng (nếu có).
4.1.2.2 Phiếu kiểm tra đánh giá chất lượng sản phẩm.
4.2 Kiểm tra đánh giá chất lượng sản phẩm
4.2.1 Xác định cường độ chịu nén của bê tông
Bê tông phải được lấy mẫu, tạo mẫu, bảo dưỡng theo TCVN 3105:1993 và xác định cường độ theo TCVN 3118:1993. Số lượng viên mẫu thử chuẩn phải được chuẩn bị đủ để xác định cường độ chịu nén của bê tông khi cắt thép ứng lực trước và cường độ chịu nén của bê tông theo yêu cầu cầu của thiết kế và mẫu lưu. Khi không có quy định khác thì xác định cường độ chịu nén của bê tông ở tuổi 28 ngày. Khi cần thiết, có thể sử dụng phương pháp không phá hủy để kiểm tra cường độ chịu nén của bê tông trên sản phẩm theo TCVN 9334:2012 hoặc TCVN 9335:2012 hoặc TCVN 9357:2012.
4.2.2 Xác định kích thước sản phẩm
4.2.2.1 Thiết bị, dụng cụ
4.2.2.1.1 Thước lá, thước thép cuộn có vạch chia đến 1 mm;
4.2.2.1.2 Thước kẹp có có vạch chia đến 1 mm;
4.2.2.1.3 Êke, dây đo không giãn, quả dọi, đục.
4.2.2.2 Cách tiến hành
Nếu kiểm tra theo lô, thì mỗi lô lấy ra 3 sản phẩm đại diện để kiểm tra
– Đo chiều dài: Dùng thước thép cuộn đo khoảng cách dài nhất giữa 2 đầu của sản phẩm.
– Đo chiều rộng: Dùng thước thép cuộn đo ở vị trí chiều rộng nhất của sản phẩm.
– Đo chiều cao: Dùng thước thép cuộn đo chiều cao ở vị trí cao nhất của sản phẩm.
– Đo độ vuông góc: Dùng êke đo độ vuông góc ở đầu, mặt trên và mặt đáy của sản phẩm rồi lấy giá trị trung bình của các số đo được.
– Đo khoảng cách tim thép cốt ứng lực trước: Dùng thước lá đo từ tim thanh thép này đến tim của thanh thép liền kề tại hai đầu sản phẩm.
– Đo độ cong: Dùng dây kéo không giãn cố định 2 đầu và dùng thước đo khoảng hở lớn nhất hoặc độ dư lớn nhất từ dây đến mép ngoài sản phẩm.
– Đo khoảng hở, tim bản thép chờ, móc cẩu: Dùng thước thép cuộn đo từ sản phẩm đến khoảng hở, tim bản thép chờ theo hai phương vuông góc.
– Đo độ vuông góc thẳng đứng mặt trên và mặt dưới, dùng dây dọi dọi thẳng đứng đầu mép trên, đặt ke hoặc thước chiếu vuông góc để đo.
– Đo mặt phẳng các tấm thép: Đặt thước thép trên bề mặt sản phẩm và dùng thước lá đo khoảng hở lớn nhất giữa bề mặt sản phẩm và bề mặt tấm thép.
– Đo chiều dày các lớp bê tông bảo vệ tấm xốp: Các tấm xốp tạo rỗng được định hình sẵn và được kiểm tra trước khi đưa vào sử dụng. Dùng đục để đục lớp bê tông bề mặt, trên mặt xốp diện tích (10 ÷ 15) cm2 kiểm tra độ dày lớp bê tông và kiểm tra vị trí của xốp theo phương đứng. Dùng thước và êke đo chiều cao lớp bê tông mặt xốp. Lớp bê tông chịu lực phía dưới (d2) là kết quả của hiệu số chiều cao tấm (c) và chiều cao xốp cộng với chiều dày lớp bê tông trên mặt lớp xốp (d1), d2 = [c – (d1 + chiều cao xốp)] (xem Hình 13). Sau đó dùng vữa chảy không co hoàn thiện lại vết đục.
4.2.2.3 Đánh giá kết quả
Nếu cả 3 sản phẩm được kiểm tra đều đạt các yêu cầu về mức sai lệch kích thước, thì lô sản phẩm đó đạt yêu cầu quy định về mức sai lệch kích thước, nếu có từ một trở lên sản phẩm không đạt, thì chọn tiếp 3 sản phẩm khác trong lô đó để kiểm tra lại. Nếu lại có từ một sản phẩm trở lên không đạt, thì lô sản phẩm đó phải nghiệm thu từng sản phẩm.
4.2.3 Xác định ngoại quan, khuyết tật
4.2.3.1 Thiết bị, dụng cụ
4.2.3.1.1 Thước thép cuộn dài thích hợp có vạch chia đến 1 mm;
4.2.3.1.2 Thước thép lá dài (300 ÷ 500) mm có vạch chia đến 1 mm;
4.2.3.1.3 Thước kẹp có vạch chia đến 0,1 mm;
4.2.3.1.4 Bộ căn lá thép (0,05 ÷ 1,0) mm.
4.2.3.2 Cách tiến hành
– Đo chiều sâu vết lõm: Đặt thước trên bề mặt sản phẩm rồi cắm thanh trượt của thước kẹp đến đáy vết lõm, đo khoảng cách từ đáy vết lõm đến mép dưới của thước.
– Đo các vết sứt ở mép, góc sản phẩm bằng thước lá.
– Đo chiều rộng vết nứt (nếu có) bằng bộ căn lá thép.
4.2.3.3 Đánh giá kết quả
Nếu các sản phẩm kiểm tra đạt yêu cầu về ngoại quan và khuyết tật thì lô sản phẩm đó đạt yêu cầu quy định về ngoại quan và khuyết tật, nếu có từ một trở lên sản phẩm không đạt, thì chọn tiếp 3 sản phẩm khác trong lô đó để kiểm tra lại. Nếu lại có từ một sản phẩm trở lên không đạt yêu cầu về ngoại quan và khuyết tật, thì lô sản phẩm đó phải nghiệm thu từng sản phẩm.
4.2.4 Xác định độ vồng
Đặt sản phẩm trên sàn phẳng đã được gia công trước, dùng thước lá đo khoảng hở lớn nhất từ sàn đến mép dưới sản phẩm tại điểm giữa.
4.2.5 Xác định khả năng chịu lực
Nếu có yêu cầu đánh giá độ bền, độ cứng và khả năng chống nứt của sản phẩm thì tiến hành thử nghiệm gia tài tĩnh theo TCVN 9347:2012.
5 Ghi nhãn, vận chuyển và bảo quản
5.1 Ghi nhãn
Trên mỗi cấu kiện phải có nhãn mác ghi rõ ràng các nội dung sau ở nơi dễ nhìn thấy bằng vật liệu không hòa tan trong nước, không phai màu:
-Tên sản phẩm;
– Ngày đổ bê tông;
– Dấu kiểm tra chất lượng.
5.2 Vận chuyển và bảo quản
– Các cấu kiện chỉ được bốc xếp vận chuyển sau khi tạo ứng lực trước.
– Các cấu kiện phải được xếp dỡ bằng cần cẩu với móc dây cáp mềm hoặc thiết bị kẹp thích hợp.
– Các cấu kiện sau khi kiểm tra xác nhận đạt yêu cầu được xếp thành từng lô cùng chủng loại, giữa các lớp sản phẩm đặt chồng lên nhau phải có các thanh kê thích hợp bằng gỗ.
– Khi vận chuyển, các cấu kiện phải được liên kết chặt chẽ với phương tiện vận chuyển để tránh xô đẩy, va đập gây hư hỏng.
– Khi xếp kho phải kê xếp các sản phẩm thật ổn định và các đòn kê phải thẳng hàng từ trên xuống dưới. Không xếp một chồng cao quá 8 tầng hoặc cao quá 1,4 m. Khi kê xếp phải theo thứ tự thời gian sản xuất để dễ bảo quản và sử dụng.
The online Windows XP simulator runs in a web browser and its operation imitates the operating system. You can use it to prank someone.





