Tiêu chuẩn quốc gia TCVN 7364-6:2018 (ISO 12543-6:2011) về Kính xây dựng – Kính dán nhiều lớp và kính dán an toàn nhiều lớp – Phần 6: Ngoại quan
TIÊU CHUẨN QUỐC GIA
TCVN 7364-6:2018
ISO 12543-6:2011
KÍNH XÂY DỰNG – KÍNH DÁN NHIỀU LỚP VÀ KÍNH DÁN AN TOÀN NHIỀU LỚP – PHẦN 6: NGOẠI QUAN
Glass in building – Laminated glass and laminated satety glass – Part 6: Appearance
Lời nói đầu
TCVN 7364-6:2018 thay thế TCVN 7364-6:2004.
TCVN 7364-6:2018 hoàn toàn tương đương với ISO 12543-6:2011.
TCVN 7364-6:2018 do Viện Vật liệu xây dựng – Bộ Xây dựng biên soạn, Bộ Xây dựng đề nghị, Tổng cục Tiêu chuẩn Đo lường Chất lượng thẩm định, Bộ Khoa học và Công nghệ công bố.
Bộ tiêu chuẩn TCVN 7364:2018, Kính xây dựng – Kính dán nhiều lớp và kính dán an toàn nhiều lớp, bao gồm các phần sau:
– TCVN 7364-1:2018 (ISO 12543-1:2011), Phần 1: Định nghĩa và mô tả các vật liệu thành phần;
– TCVN 7364-2:2018, Phần 2: Kính dán an toàn nhiều lớp;
– TCVN 7364-3:2018 (ISO 12543-3:2011), Phần 3: Kính dán nhiều lớp;
– TCVN 7364-4:2018 (ISO 12543-4:2011), Phần 4: Phương pháp thử độ bền;
– TCVN 7364-5:2018 (ISO 12543-5:2011), Phần 5: Kích thước và hoàn thiện cạnh;
– TCVN 7364-6:2018 (ISO 12543-6:2011), Phần 6: Ngoại quan.
KÍNH XÂY DỰNG – KÍNH DÁN NHIỀU LỚP VÀ KÍNH DÁN AN TOÀN NHIỀU LỚP – PHẦN 6: NGOẠI QUAN
Glass in building – Laminated glass and laminated satety glass – Part 6: Appearance
1 Phạm vi áp dụng
Tiêu chuẩn này quy định các khuyết tật của sản phẩm kính có kích cỡ đã hoàn thiện và các phương pháp kiểm tra ngoại quan bằng cách nhìn qua tấm kính.
CHÚ THÍCH: Quan sát đặc biệt để đưa ra các tiêu chí chấp nhận được tại vùng quan sát.
Tiêu chuẩn này được áp dụng cho sản phẩm có kích cỡ đã hoàn thiện tại thời điểm xuất hàng.
2 Tài liệu viện dẫn
Các tài liệu viện dẫn sau là cần thiết khi áp dụng tiêu chuẩn này. Đối với các tài liệu viện dẫn ghi năm công bố thì áp dụng bản được nêu. Đối với các tài liệu viện dẫn không ghi năm công bố thì áp dụng phiên bản mới nhất, bao gồm các bản sửa đổi, bổ sung (nếu có).
TCVN 7364-1:2018 (ISO 12543-1:2011), Kính xây dựng – Kính dán nhiều lớp và kính dán an toàn nhiều lớp – Phần 1: Định nghĩa và mô tả các vật liệu thành phần.
TCVN 7364-5:2018 (ISO 12543-5:2011), Kính xây dựng – Kính dán nhiều lớp và kính dán an toàn nhiều lớp – Phần 5: Kích thước và hoàn thiện cạnh sản phẩm.
3 Thuật ngữ và định nghĩa
Trong tiêu chuẩn này sử dụng các thuật ngữ và định nghĩa nêu trong TCVN 7364-1:2018 và các thuật ngữ, định nghĩa sau:
3.1 Khuyết tật dạng điểm (Spot detect)
Loại khuyết tật này gồm các điểm đục, các bọt khí hoặc các vật lạ.
3.2 Khuyết tật dạng vạch (Linear defect)
Loại khuyết tật này gồm các vật lạ và các vết cào hoặc xước.
3.3 Khuyết tật khác (Other defect)
Khuyết tật của kính chẳng hạn như các vết nứt và khuyết tật của lớp dán xen giữa chẳng hạn như gấp nếp, vết co và các vết sọc.
3.4 Điểm đục (Opaque spot)
Khuyết tật nhìn thấy trên tấm kính dán nhiều lớp.
VÍ DỤ: Các vết mực và các vật bám vào kính hoặc lớp dán xen giữa.
3.5 Bọt (Bubble)
Thường là bọt khí nằm trong kính hoặc trong lớp dán xen giữa.
3.6 Vật lạ (Foreign body)
Vật bất kỳ ngoài ý muốn nằm trong kính dán nhiều lớp trong quá trình sản xuất.
3.7 Vết cào (Scratch)
Khuyết tật dạng dài trên bề mặt ngoài của kính dán nhiều lớp.
3.8 Vết xước (Graze)
Khuyết tật trên bề mặt ngoài của kính dán nhiều lớp.
3.9 Vết nứt (Vent)
Vết khứa nhọn hoặc vết nứt xuất phát từ một mép cạnh nào đó vào trong tấm kính.
3.10 Vết nhăn (Crease)
Vết nhăn nhìn thấy được của lớp dán xen giữa sau sản xuất.
3.11 Vết sọc do sự không đồng nhất của lớp dán giữa (Streak due to interlayer inhomogeneity)
Các vết nếp nhăn ở lớp dán xen giữa, gây ra do quá trình dán lớp xen giữa, các vết vặn này có thể nhìn thấy sau sản xuất.
3.12 Vùng mép (Edge area)
Phần diện tích xung quanh của tấm kính thường nằm trong khung lắp kính.
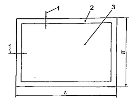
CHÚ THÍCH: Đối với diện tích tấm kính nhỏ hơn 5 m2, chiều rộng của vùng mép là 15 mm được chỉ ra ở Hình 1. Khi chiều rộng của vùng mép lớn hơn 20 mm thì diện tích tấm kính phải hơn 5 m2.

CHÚ DẪN:
1 – Độ rộng vùng mép L – Chiều rộng tấm kính
2 – Vùng mép H – Chiều cao tấm kính
3 – Vùng quan sát
Hình 1 – Vùng kiểm tra ngoại quan đối với kính có kích cỡ đã hoàn thiện
3.13 Vùng quan sát (Vision area)
Vùng chính của tấm kính không bao gồm vùng mép.
4 Nguyên lý
Kính dán nhiều lớp được đặt ở vị trí thẳng đứng, phía trước và song song, phía sau tấm kính là nền màu ghi xám và được chiếu sáng bằng ánh sáng khuếch tán ban ngày hoặc tương đương.
Người quan sát đứng đối mặt cách tấm kính 2 m và quan sát theo phương thẳng góc (tấm nền màu ghi đặt ở phía sau của tấm kính).
Các khuyết tật nhìn thấy hiện rõ khi quan sát phải được đánh dấu nhận biết.
5 Các khuyết tật ở vùng mép kính đối với các cạnh đặt trong khung
Khi kiểm tra theo phương pháp quy định ở Điều 9, cho phép có các khuyết tật có đường kính không lớn hơn 5 mm ở trong vùng mép kính hoặc không được quá 5% diện tích của vùng mép kính.
6 Các vết nứt
Không cho phép kính có các vết nứt.
7 Các vết nhăn và các vết sọc
Không cho phép kính có các vết nhăn và các vết sọc trong vùng quan sát.
8 Các khuyết tật trong vùng quan sát
8.1 Các khuyết tật dạng điểm trong vùng quan sát
Khi kiểm tra theo phương pháp quy định ở Điều 9, khả năng chấp nhận các khuyết tật dạng điểm phụ thuộc vào các yếu tố sau:
– Kích cỡ của khuyết tật;
– Tần suất của khuyết tật;
– Kích cỡ của tấm kính;
– Số tấm kính thành phần của tấm kính dán nhiều lớp.
Số khuyết tật cho phép trong tấm kính được thể hiện trong Bảng 1.
Có thể bỏ qua các khuyết tật nhỏ hơn 0,5 mm.
Không cho phép có các khuyết tật lớn hơn 3 mm.
CHÚ THÍCH: Việc chấp nhận các khuyết tật dạng điểm trong kính dán nhiều lớp không phụ thuộc vào chiếu dày từng tấm kính.
Số lượng các khuyết tật cho phép ghi trong Bảng 1 có thể sẽ tăng thêm 1 cho mỗi lớp dán xen giữa dày hơn 2 mm.
8.2 Các khuyết tật dạng vạch trong vùng quan sát
Khi kiểm tra theo phương pháp quy định ở Điều 9, các khuyết tật dạng vạch cho phép theo quy định ở Bảng 2.
Bảng 1 – Các khuyết tật dạng điểm cho phép trong vùng quan sát
|
Kích thước của khuyết tật d, mm |
0,5 < d ≤ 1,0 |
1,0 < d ≤ 3,0 |
||||
|
Kích thước của tấm kính A, m2 |
Đối với tất cả các kích cỡ |
A ≤ 1 |
1 < A ≤ 2 |
2 < A ≤ 8 |
A > 8 |
|
|
Số lượng các khuyết tật cho phép |
2 tấm 3 tấm 4 tấm ≥ 5 tấm |
Không hạn chế; tuy nhiên, các khuyết tật không được tập trung |
1 2 3 4 |
2 3 4 5 |
1,0/m2 1,5/m2 2,0/m2 2,5/m2 |
1,2/m2 1,8/m2 2,4/m2 3,0/m2 |
|
CHÚ THÍCH: Các khuyết tật được coi là tập trung khi xuất hiện bốn khuyết tật trở lên và cách nhau một khoảng nhỏ hơn 200 mm. Đối với kính ba lớp khoảng cách này là 180 mm; kính bốn lớp khoảng cách này là 150 mm và kính từ năm lớp trở lên khoảng cách này là 100 mm. |
||||||
Bảng 2 – Số các khuyết tật dạng vạch cho phép trong vùng quan sát
|
Diện tích tấm kính, m2 |
Số các khuyết tật cho phép > 30 mm theo chiều dàia) |
|
≤ 5 |
Không cho phép |
|
> 5 đến ≤ 8 |
1 |
|
> 8 |
2 |
|
a) Cho phép khuyết tật dạng vạch không lớn hơn 30 mm theo chiều dài. |
|
9 Các khuyết tật trên cạnh không đóng khung
Kính dán nhiều lớp thông thường được lắp trong các khung, khi không có khung thì các mép có thể là các dạng sau, theo TCVN 7364-5:2018:
– Cạnh mài;
– Cạnh đánh bóng;
– Cạnh đánh vát.
Trong các trường hợp trên, các khuyết tật dạng vỏ sò, bọt, các khuyết tật của lớp dán xen giữa và sự co ngót có thể cho phép có nếu trong trường hợp các khuyết tật này không thể hiện rõ khi tiến hành kiểm tra.





